TIÊU CHUẨN QUỐC GIA TCVN 10170-6:2025 (ISO 10791-6:2014) VỀ ĐIỀU KIỆN KIỂM TRUNG TÂM GIA CÔNG – PHẦN 6: ĐỘ CHÍNH XÁC CỦA TỐC ĐỘ VÀ PHÉP NỘI SUY
ISO 10791-6:2014
ĐIỀU KIỆN KIỂM TRUNG TÂM GIA CÔNG – PHẦN 6: ĐỘ CHÍNH XÁC CỦA TỐC ĐỘ VÀ PHÉP NỘI SUY
Test conditions for machining centres – Part 6: Accuracy of speeds and interpolations
Lời nói đầu
TCVN 10170-6:2025 thay thế TCVN 10170-6:2014 (ISO 10791-6:1998).
TCVN 10170-6:2025 hoàn toàn tương đương với ISO 10791-6:2014.
TCVN 10170-6:2025 do Ban kỹ thuật tiêu chuẩn quốc gia TCVN/TC 39 Máy công cụ biên soạn, Viện Tiêu chuẩn Chất lượng Việt Nam đề nghị, Ủy ban Tiêu chuẩn Đo lường Chất lượng Quốc gia thẩm định, Bộ Khoa học và Công nghệ công bố.
Bộ TCVN 10170 (ISO 10791), Điều kiện kiểm trung tâm gia công bao gồm các phần sau:
– TCVN 10170-1:2025 (ISO 10791-1:2015), Phần 1: Kiểm hình học máy có trục chính nằm ngang (trục Z nằm ngang);
– TCVN 10170-2:2013 (ISO 10791-2:2001), Phần 2: Kiểm hình học cho máy có trục chính thẳng đứng hoặc các đầu vạn năng có trục tâm quay chính thẳng đứng (trục Z thẳng đứng);
– TCVN 10170-3:2013 (ISO 10791-3:1998), Phần 3: Kiểm hình học cho máy có các đầu phân độ nguyên khối hoặc vạn năng liên tục (trục Z thẳng đứng);
– TCVN 10170-4:2014 (ISO 10791-4:1998), Phần 4: Độ chính xác và khả năng lặp lại định vị của các trục tịnh tiến và quay;
– TCVN 10170-5:2014 (ISO 10791-5:1998), Phần 5: Độ chính xác và khả năng lặp lại định vị của các palét kẹp phôi;
– TCVN 10170-6:2025 (ISO 10791-6:2014), Phần 6: Độ chính xác của tốc độ và phép nội suy;
– TCVN 10170-7:2025 (ISO 10791-7:2020), Phần 7: Độ chính xác của mẫu kiểm hoàn thiện;
– TCVN 10170-8:2014 (ISO 10791-8:2001), Phần 8: Đánh giá đặc tính tạo công tua trong ba mặt phẳng tọa độ;
– TCVN 10170-9:2014 (ISO 10791-9:2001), Phần 9: Đánh giá thời gian vận hành thay dao và thay palét;
– TCVN 10170-10:2014 (ISO 10791-10:2007), Phần 10: Đánh giá các biến dạng nhiệt.
Lời giới thiệu
Bộ tiêu chuẩn này liên quan đến các phương pháp kiểm trung tâm gia công.
Trung tâm gia công là một máy công cụ điều khiển số có khả năng thực hiện nhiều nguyên công gia công, bao gồm phay, doa, khoan và cắt ren, cũng như thay dao tự động từ một ổ chứa dao hoặc cụm chứa tương tự theo một chương trình gia công.
Mục đích của tiêu chuẩn này là cung cấp thông tin rộng và toàn diện nhất có thể về các phép kiểm có thể được thực hiện để so sánh, nghiệm thu, bảo dưỡng hoặc bất kỳ mục đích nào khác theo nhu cầu của người sử dụng hoặc nhà sản xuất.
Bộ tiêu chuẩn này quy định, có tham chiếu các phần liên quan của bộ ISO 230, các phép kiểm cho các trung tâm gia công. Bộ tiêu chuẩn này cũng thiết lập các dung sai hoặc các giá trị chấp nhận được lớn nhất đối với các kết quả kiểm tương ứng cho các trung tâm gia công có độ chính xác thông dụng.
Bộ tiêu chuẩn này có thể áp dụng, toàn bộ hoặc một phần, cho các máy phay và doa điều khiển sổ, nếu cấu hình, các bộ phận và các chuyển động của các máy này tương thích với các phép kiểm được mô tả trong tiêu chuẩn này.
Đối với các trung tâm gia công năm trục với ba trục tịnh tiến vuông góc và hai trục quay, có các loại máy như sau: máy có hai trục quay ở ụ trục chính (xem Phụ lục A), máy có hai trục quay ở phía phôi (xem Phụ lục B), và máy có ụ xoay và/hoặc bàn máy xoay (xem Phụ lục C).
Các Phụ lục của tiêu chuẩn này quy định các phép kiểm động học cho trung tâm gia công năm trục.
ĐIỀU KIỆN KIỂM TRUNG TÂM GIA CÔNG – PHẦN 6: ĐỘ CHÍNH XÁC CỦA TỐC ĐỘ VÀ PHÉP NỘI SUY
Test conditions for machining centres – Part 6: Accuracy of speeds and interpolations
Tiêu chuẩn này quy định các phép kiểm động học cho các trung tâm gia công, liên quan đến tốc độ quay của trục chính, lượng chạy dao và độ chính xác của các quỹ đạo được tạo bởi chuyển động đồng thời của từ hai trục tịnh tiến và/hoặc trục quay NC trở lên, có tham chiếu ISO 230-1 và TCVN 7011-4 (ISO 230-4).
Tiêu chuẩn này áp dụng với các trung tâm gia công có ba trục tịnh tiến (X, Y, và Z) cùng với một hoặc hai trục quay (A, B, hoặc C). Các chuyển động khác ngoài các chuyển động được đề cập được coi là các tính năng đặc biệt và các phép kiểm liên quan không được đề cập trong tiêu chuẩn này.
Tiêu chuẩn này chỉ đề cập việc kiểm tra xác nhận độ chính xác động học của máy và không áp dụng để kiểm vận hành máy, ví dụ như rung động, độ ồn bất thường v.v., chúng thường được kiểm riêng.
Các phép kiểm được mô tả trong tiêu chuẩn này cũng có thể áp dụng, một phần hoặc toàn bộ, theo thỏa thuận cụ thể giữa nhà sản xuất/nhà cung cấp và người sử dụng, với máy phay và máy doa điều khiển số, nếu cấu hình, các bộ phận và chuyển động của chúng tương thích với các phép kiểm được mô tả dưới đây.
Các tài liệu viện dẫn sau là cần thiết cho việc áp dụng tiêu chuẩn này. Đối với các tài liệu viện dẫn ghi năm công bố thì áp dụng phiên bản được nêu. Đối với các tài liệu viện dẫn không ghi năm công bố thì áp dụng phiên bản mới nhất, bao gồm cả các sửa đổi (nếu có).
TCVN 7011-4:2013 (ISO 230-4:2005), Quy tắc kiểm máy công cụ – Phần 4: Kiểm độ tròn cho máy công cụ điều khiển số
TCVN 7011-7 (ISO 230-7), Quy tắc kiểm máy công cụ – Phần 7: Độ chính xác hình học của các trục tâm của chuyển động quay
ISO 230-1:20121), Test code for machine tools – Part 1: Geometric accuracy of machines operating under no-load or quasi-static conditions (Quy tắc kiểm máy công cụ – Phần 1: Độ chính xác hình học của máy khi vận hành trong điều kiện không tải hoặc bán tĩnh)
ISO 841:2001, Industrial automation systems and integration – Numerical control of machines – Coordinate system and motion nomenclature (Hệ thống tự động và tích hợp công nghiệp – Điều khiển số máy – Hệ tọa độ và danh pháp chuyển động)
Tiêu chuẩn này áp dụng các thuật ngữ và định nghĩa trong ISO 230-1, TCVN 7011-4 (ISO 230-4), TCVN 7011-7 (ISO 230-7), ISO 841 và các thuật ngữ, định nghĩa sau.
3.1
Nội suy tuyến tính (linear interpolation)
Nội suy trong đó chuyển động tương đối giữa phía dụng cụ cắt và phía phôi của máy công cụ là một đường thẳng, được tạo ra bằng cách điều khiển đồng thời nhiều trục.
3.2
Nội suy tròn (circular interpolation)
Nội suy trong đó chuyển động tương đối giữa phía dụng cụ cắt và phía phôi của máy công cụ là một cung tròn nằm trên một mặt phẳng cụ thể, được tạo ra bằng cách điều khiển đồng thời nhiều trục.
3.3
Chức năng điều khiển điểm tâm dụng cụ cắt (tool centre point control function)
Chức năng điều khiển TCP (TCP control function)
Chức năng điều khiển CNC tiên tiến điều khiển các trục tịnh tiến của máy công cụ điều khiển số, nhằm duy trì tọa độ điểm tâm dụng cụ cắt không đổi trong hệ tọa độ phôi, để đáp ứng với sự thay đổi vị trí tức thời của các trục quay.
4.1 Đơn vị đo
Trong tiêu chuẩn này, tất cả các kích thước thẳng, các sai lệch và các dung sai tương ứng được tính bằng milimét. Các kích thước góc được tính bằng độ. Trong một số trường hợp, để cho rõ ràng dễ hiểu có thể sử dụng đơn vị micrôradian hoặc giây (cung). Cần lưu ý sự tương đương của các biểu thức sau:
0,010/1000 = 10 × 10-6 = 10 μrad ≈ 2″
4.2 Tham chiếu ISO 230-1 và TCVN 7011-4 (ISO 230-4)
Để áp dụng tiêu chuẩn này, phải tham chiếu ISO 230-1, đặc biệt đối với việc lắp đặt máy trước khi kiểm, chạy khởi động trục chính và các bộ phận chuyển động khác, mô tả các phương pháp đo, và độ chính xác khuyến nghị của thiết bị kiểm. Đối với việc kiểm nội suy tròn, phải tham chiếu TCVN 7011-4 (ISO 230-4).
4.3 Trình tự kiểm
Trình tự các phép kiểm được trình bày trong tiêu chuẩn này không xác định thứ tự kiểm thực tế. Để thực hiện việc lắp đặt các phương tiện đo hoặc đồng hồ đo dễ dàng, có thể thực hiện các phép kiểm theo thứ tự bất kỳ.
4.4 Các phép kiểm được thực hiện
Khi kiểm máy, không phải lúc nào cũng cần thiết hoặc có thể thực hiện tất cả các phép kiểm được mô tả trong tiêu chuẩn này. Khi kiểm nghiệm thu, người sử dụng lựa chọn các phép kiểm có liên quan đến các bộ phận và/hoặc các đặc tính của máy mà họ quan tâm theo thỏa thuận với nhà sản xuất/nhà cung cấp. Các phép kiểm này phải được quy định rõ ràng khi đặt hàng mua máy. Tham chiếu tiêu chuẩn này cho kiểm nghiệm thu mà không quy định các phép kiểm được tiến hành và không có sự thỏa thuận về chi phí liên quan, không thể được xem là ràng buộc đối với bất kỳ bên nào tham gia hợp đồng.
4.5 Phương tiện đo
Các phương tiện đo được nêu trong các phép kiểm được mô tả trong Điều 5 và trong Phụ lục A, Phụ lục B, và Phụ lục C chỉ là các ví dụ. Có thể sử dụng phương tiện đo khác có khả năng đo cùng đại lượng và có cùng độ không đảm bảo đo hoặc nhỏ hơn.
Trong mỗi phép kiểm, số lượng điểm lấy mẫu (hoặc tần số lấy mẫu) phải được báo cáo.
4.6 Sơ đồ
Để đơn giản, các sơ đồ trong tiêu chuẩn này chỉ minh họa một kiểu máy trong mỗi Phụ lục.
4.7 Vị trí của các trục không được kiểm
Các trục tịnh tiến và/hoặc trục quay không được kiểm nên được đặt gần nhất vị trí giữa hành trình làm việc, hoặc ở vị trí các bộ phận máy ảnh hưởng đến phép đo có độ lệch nhỏ nhất.
4.8 Bù bằng sử dụng phần mềm
Đối với các công cụ phần mềm tích hợp sẵn chức năng bù các sai lệch về hình học, định vị, tạo công tua, và/hoặc biến dạng nhiệt, việc sử dụng chúng trong các phép kiểm phải dựa trên cơ sở thỏa thuận giữa nhà sản xuất/nhà cung cấp và người sử dụng, có cân nhắc đến mục đích sử dụng của máy công cụ. Việc sử dụng bù bằng phần mềm phải được nêu trong báo cáo kiểm.
Phải lưu ý rằng không được khóa các trục cho mục đích kiểm khi sử dụng bù bằng phần mềm.
Phạm vi của phép kiểm tốc độ quay trục chính (K1) và lượng chạy dao (K2) là để kiểm độ chính xác tổng thể của tất cả các mạch điện, điện tử và xích động học trong hệ thống điều khiển giữa lệnh điều khiển và chuyển động thực tế của từng bộ phận.
Mục đích của các phép kiểm nội suy tuyến tính (K3) là để kiểm chuyển động phối hợp của hai trục tịnh tiến tại một trong hai điều kiện sau:
– khi cả hai trục chuyển động cùng tốc độ (45°); hoặc
– khi một trong hai trục chuyển động với tốc độ thấp hơn đáng kể so với trục còn lại (góc nhỏ).
Mục đích của phép kiểm chuyển động nội suy tròn (K4) là để kiểm sự phối hợp chuyển động của hai trục tịnh tiến theo một đường tròn, bao gồm các điểm trong đó tốc độ của một trục chậm dần tới giá trị không (zero) và đảo ngược chiều chuyển động. Trong các phép kiểm này, các trục chuyển động với tốc độ biến thiên.
Các phép kiểm nội suy tròn với hơn hai trục tịnh tiến, bao gồm cả các trục quay, được mô tả trong Phụ lục A, Phụ lục B và Phụ lục C.
5.1.1 Các phép kiểm được mô tả trong các Phụ lục A đến Phụ lục C
Trong Phụ lục A, phép kiểm AK1 đo sự sai lệch của quỹ đạo điểm tâm dụng cụ cắt khi trục B quay. AK2 đo sai lệch này khi trục C quay. AK3 và AK4 đo sai lệch khi nội suy đồng thời với cả hai trục B và C. Tương tự, trong tất cả các Phụ lục A đến C, mỗi phép kiểm mô tả một phép kiểm cho từng trục quay hoặc sự kết hợp của hai trục quay.
5.1.2 Các phép kiểm thay thế trong các Phụ lục A đến Phụ lục C
Trong Phụ lục A, phép kiểm AK1, AK2 và AK4 đo sai lệch của quỹ đạo điểm tâm dụng cụ cắt trong hệ tọa độ phôi (hệ tọa độ gắn với bàn máy). Mặt khác, các phép kiểm thay thế của chúng [AK1 (thay thế), AK2 (thay thế) và AK4 (thay thế)] đo sai lệch theo phương hướng kính, song song và tiếp tuyến của trục quay được kiểm. Nói cách khác, các phép kiểm thay thế này đo sai lệch trong hệ tọa độ gắn với trục quay được kiểm. Các phép kiểm CK1 và CK1 (thay thế) tuân theo nguyên tắc tương tự.
5.2 Tốc độ quay trục chính và lượng chạy dao
| Đối tượng và điều kiện kiểm |
K1 |
||||||||||||||||||||||||||||||||||||||||||||||
| Kiểm sai lệch tốc độ trục chính tại điểm giữa và điểm tối đa của mỗi dải tốc độ theo chiều kim đồng hồ và ngược chiều kim đồng hồ. Phép kiểm này phải được thực hiện cho từng dải tốc độ, nếu có thể. | |||||||||||||||||||||||||||||||||||||||||||||||
| Sơ đồ
|
|||||||||||||||||||||||||||||||||||||||||||||||
| Dung sai
± 5 % |
|||||||||||||||||||||||||||||||||||||||||||||||
Sai lệch đo được
|
|||||||||||||||||||||||||||||||||||||||||||||||
| Phương tiện đo
Bộ đếm số vòng quay hoặc đèn chớp hoặc các phương tiện đo khác. |
|||||||||||||||||||||||||||||||||||||||||||||||
| Xem
Dụng cụ cắt giả có thể được kẹp trên trục chính. |
|||||||||||||||||||||||||||||||||||||||||||||||
| Khi đọc tốc độ quay tức thời, phải lấy ít nhất năm số đọc về tính giá trị trung bình. Các số đọc phải được lấy ở tốc độ quay không đổi, tránh sự tăng tốc/giảm tốc ở thời điểm khởi động và dừng. Sự điều khiển khống chế phải được đặt tại mức 100 %.
Sai lệch tốc độ quay trục chính phải được tính bằng công thức sau: D = (As – Ps)/Ps × 100 Trong đó D là sai lệch tính bằng phần trăm; As là tốc độ quay đo được; Ps là tốc độ quay được lập trình. |
|||||||||||||||||||||||||||||||||||||||||||||||
| Đối tượng và điều kiện kiểm |
K2 |
||||||||||||||||||||||||||||||||||||||||||||||||||||||||||||||||||||||||||||||||
| Kiểm độ chính xác lượng chạy dao theo chiều dương và âm của tất cả các trục tịnh tiến tại các lượng chạy dao sau:
a) 100 mm/min; b) 1000 mm/min; c) lượng chạy dao lớn nhất; d) chạy dao nhanh không tải |
|||||||||||||||||||||||||||||||||||||||||||||||||||||||||||||||||||||||||||||||||
| Sơ đồ
Sơ đồ này thể hiện cách thiết lập cho trung tâm gia công ngang. Trung tâm gia công đứng được thiết lập tương tự.
CHÚ DẪN: 1 đầu laze 2 giao thoa kế 3 gương phản xạ |
|||||||||||||||||||||||||||||||||||||||||||||||||||||||||||||||||||||||||||||||||
| Dung sai
± 5 % |
|||||||||||||||||||||||||||||||||||||||||||||||||||||||||||||||||||||||||||||||||
Sai lệch đo được
|
|||||||||||||||||||||||||||||||||||||||||||||||||||||||||||||||||||||||||||||||||
| Phương tiện đo
Giao thoa kế laze. |
|||||||||||||||||||||||||||||||||||||||||||||||||||||||||||||||||||||||||||||||||
| Xem
Chỉnh thẳng giao thoa kế laze (được thiết lập cho sai lệch định vị) với chuyển động của trục được kiểm. Trục phải được điều khiển lệnh để thực hiện chuyển động đơn giản với điểm đầu và điểm cuối được quy định. Di chuyển khoảng một nửa hành trình của trục (hoặc 500 mm, tùy theo giá trị nào nhỏ hơn) để cho phép trục tăng tốc, sau đó di chuyển ở tốc độ không đổi, và giảm tốc để dừng. Tất cả các lượng chạy dao phải sử dụng cùng một hành trình. Phép kiểm phải được thực hiện cho cả hai chiều chuyển động (dương và âm). Dữ liệu tốc độ nên được lấy mẫu với tần số tối thiểu 100 Hz, không được làm trơn hoặc lấy giá trị trung bình. Sự điều khiển khống chế phải được đặt tại mức 100 %. Đối với mỗi chiều chuyển động, tính lượng chạy dao trung bình bằng cách lấy giá trị trung bình của tất cả các tốc độ không đổi đã đo được (tối thiểu 1000 điểm lấy mẫu) cho phép kiểm đã cho. Sai lệch lượng chạy dao phải được tính bằng công thức sau: Df = (Af – Pf)/Pf × 100 Trong đó Df là sai lệch tính bằng phần trăm; Af là lượng chạy dao trung bình đo được; Pf là lượng chạy dao được lập trình. |
|||||||||||||||||||||||||||||||||||||||||||||||||||||||||||||||||||||||||||||||||
5.3 Chuyển động nội suy tuyến tính
| Đối tượng và điều kiện kiểm |
K3 |
||||||||||||||||||||||||
| Kiểm sai số độ thẳng của quỹ đạo tạo bởi nội suy đồng thời hai trục tịnh tiến trên mỗi 100 mm chiều dài. Góc các quỹ đạo này xấp xỉ như dưới đây.
Trung tâm gia công ngang: a) dZ/dX = 0,05; b) dZ/dX = 1; c) dX/dZ = 0,05; d) dY/dZ = 1; e) dZ/dY = 0,05; f) dY/dX = 0,05; g) dY/dX = 1. Trung tâm gia công đứng: a) dY/dX = 0,05; b) dY/dX = 1; c) dX/dY = 0,05; d) dZ/dY = 1; e) dZ/dY = 0,05; f) dZ/dX = 0,05; g) dZ/dX = 1. Thay cho góc có giá trị tương đương với arctan 0,05 (= 2° 51′ 45″), có thể chọn một góc 3°, phụ thuộc vào các tiện ích lập trình. |
|||||||||||||||||||||||||
| Sơ đồ
CHÚ THÍCH: Trong hệ tọa độ hiển thị trên mỗi sơ đồ, tên trục tương ứng với cấu hình máy ngang, còn những tên trong ngoặc [ví dụ: (hoặc Y)] tương ứng với cấu hình máy đứng. |
|||||||||||||||||||||||||
| Dung sai
0,020 đối với chiều dài đo 100 |
|||||||||||||||||||||||||
Sai lệch đo được
|
|||||||||||||||||||||||||
| Phương tiện đo
Vật chuẩn độ thẳng với cần đỡ thích hợp (ví dụ: ê tô xoay) hoặc thước sin và cảm biến độ dịch chuyển thẳnga. |
|||||||||||||||||||||||||
| Xem
Phần chiều dài đo phải nằm xấp xỉ tại vị trí giữa vùng làm việc. Sau khi chọn góc và chiều dài hành trình, đặt một cảm biến độ dịch chuyển thẳng lên trục chính mang dụng cụ cắt, nếu trục này có thể khóa được, nếu không thì đặt lên ụ trục chính, vuông góc một cách hợp lý với phương chuyển động. Đặt thước thẳng hoặc thước sin lên bàn máy với góc xấp xỉ góc đã được quy định trong phần đối tượng và điều kiện kiểm. Di chuyển cảm biến tiếp xúc thước thẳng để đọc giá trị tại bề mặt tham chiếu (vị trí bắt đầu của chiều dài đo). Ghi lại tọa độ X, Y, Z tại vị trí này. Tiếp theo, di chuyển cảm biến đến điểm cuối của chiều dài đo và điều chỉnh vị trí sao cho số đọc trên cảm biến không đổi so với bề mặt tham chiếu của thước thẳng. Ghi lại tọa độ X, Y, Z tại vị trí này. Đường chạy dao được lập trình phải nằm giữa hai vị trí đã ghi lại. Tiếp theo dịch chuyển các trục dọc theo quỹ đạo đã được lập trình theo cả hai chiều, với lượng chạy dao 250 mm/min, đảo chiều ở phía ngoài chiều dài đo và ghi lại độ chênh lệch giữa số đọc lớn nhất và nhỏ nhất một cách riêng biệt cho từng chiều. Sai lệch lớn nhất với mỗi 100 mm chiều dài và chiều của nó phải được ghi lại. |
|||||||||||||||||||||||||
| a) Khuyến nghị sử dụng cảm biến độ dịch chuyển thẳng kết nối với bộ ghi đồ thị hoặc máy tính để có kết quả đo dưới dạng đồ thị, giúp dễ đọc hơn. | |||||||||||||||||||||||||
| Đối tượng và điều kiện kiểm |
K4 |
|||||||||||||||||||||||||||
Kiểm sai lệch độ tròn, G, và sai lệch độ tròn hai chiều, G(b), của quỹ đạo tạo bởi phép nội suy tròn của hai trục tịnh tiến trên toàn bộ 360°, nếu áp dụng được, theo TCVN 7011-4 (ISO 230-4), tại một trong các đường kính và tại hai lượng chạy dao sau:
Sai lệch độ tròn, G, phải được kiểm cho chuyển động tạo công tua cùng chiều và ngược chiều kim đồng hồ. Phép kiểm này sẽ được thực hiện trên các mặt phẳng XY, YZ và ZX hoặc trên mặt phẳng được tạo bởi các cặp trục tịnh tiến khác (U, V, W, v.v.). |
||||||||||||||||||||||||||||
| Sơ đồ
CHÚ THÍCH: Trong hệ tọa độ hiển thị trên mỗi sơ đồ, tên trục tương ứng với cấu hình máy ngang, còn những tên trong ngoặc [ví dụ: (hoặc Y)] tương ứng với cấu hình máy đứng. |
||||||||||||||||||||||||||||
| Dung sai
a) Gab = 0,03 mm, Gba = 0,03 mm G(b)ab = 0,05 mm b) Gab = 0,05 mm, Gba = 0,05 mm G(b)ab = 0,09 mm Trong đó ab = XY, YZ, ZX hoặc bất cứ cặp trục tịnh tiến nào khác. |
||||||||||||||||||||||||||||
Sai lệch đo được và các thông số cần ghi lại
|
||||||||||||||||||||||||||||
| Phương tiện đo
Thanh bi (ball bar), hoặc thước đo số hai chiều. |
||||||||||||||||||||||||||||
| Xem và tham chiếu 11.3, ISO 230-1:2012, và TCVN 7011-4:2013 (ISO 230-4:2005)
Đường kính có thể khác với các giá trị trên theo thỏa thuận giữa nhà sản xuất/nhà cung cấp và người sử dụng. Trong trường hợp này, lượng chạy dao phải được điều chỉnh theo Phụ lục C của TCVN 7011-4:2013 (ISO 230-4:2005). Bắt đầu phép nội suy ở một trong bốn góc phần tư. Lý tưởng là các phép đo không bắt đầu tại một trong bốn điểm đảo chiều và cần có chuyển động vào/ra đủ quanh vùng được kiểm để đảm bảo đo chính xác đặc tính của máy, bao gồm cả các điểm đảo chiều. |
||||||||||||||||||||||||||||
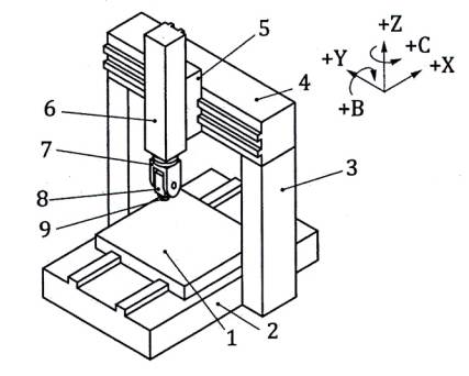
Kiểm động học cho máy có hai trục quay trong ụ trục chính
A.1 Cấu hình và ký hiệu máy
Các máy được quy định trong tiêu chuẩn này được phân loại dựa trên cấu trúc các trục tịnh tiến và trục quay. Cấu hình được mô tả bằng cách sử dụng các mã kết cấu để nối tuần tự các trục chuyển động từ phía phôi đến phía dụng cụ cắt, và ngược lại. Tên các trục chuyển động tuân theo ISO 841:2001. Ví dụ, mã kết cấu của máy được biểu thị trong Hình A.1 có thể được mô tả là [w X’ b Y Z C B (C1) t] bằng cách nối các trục chuyển động từ phía phôi đến phía dụng cụ cắt. Trong mô tả này, phía phôi và phía dụng cụ cắt được phân biệt bằng việc đặt tên phôi là “w”, dụng cụ cắt là “t”, và băng máy là “b”; (C1) biểu thị trục chính không có điều khiển số cho việc định vị góc.

CHÚ DẪN:
1 bàn máy (trục X’)
2 băng máy
3 trụ máy
4 xà ngang
5 bàn trượt của đầu trượt (trục Y)
6 đầu trượt (trục Z)
7 ụ xoay (trục C)
8 ụ nghiêng (trục B)
9 trục chính (trục C1)
Hình A.1 – Ví dụ điển hình của một trung tâm gia công đứng có hai trục quay trong ụ trục chính [w X’ b Y Z C B (C1) t]
Ngoài ra, một ký hiệu được cung cấp để xác định cấu hình của trung tâm gia công dưới dạng mã ngắn gọn, bao gồm bốn yếu tố theo thứ tự sau:
– trung tâm gia công năm trục;
– số hiệu của tiêu chuẩn này, tức là TCVN 10170 (ISO 10791);
– chữ cái H cho “horizontal – nằm ngang” (trục chính nằm ngang) hoặc V cho “vertical – thẳng đứng” (trục chính thẳng đứng);
– cấu hình kết cấu.
VÍ DỤ: Ký hiệu của một trung tâm gia công với trục chính thẳng đứng, hai trục quay trong ụ trục chính, chuyển động dọc theo trục Z, bàn trượt của đầu trượt chuyển động dọc theo trục Y, và bàn máy chuyển động dọc theo trục X (xem Hình A.1):
Trung tâm gia công năm trục TCVN 10170 (ISO 10791) V [w X’ b Y Z C B (C1) t]
A.2 Kiểm động học
A.2.1 Tổng quan
Để đơn giản hóa, các phép kiểm được nêu trong Phụ lục này dựa trên ví dụ về cấu hình máy được mô tả trong Hình A.1, nhưng các phép kiểm này áp dụng được cho tất cả các cấu hình trung tâm gia công được trang bị hai trục quay điều khiển liên tục trên ụ trục chính.
Phép kiểm AK1, AK2 và AK4 đo sai lệch của quỹ đạo điểm tâm dụng cụ cắt trong hệ tọa độ phôi (hệ tọa độ gắn với bàn máy), trong khi các phép kiểm thay thế đo sai lệch theo phương hướng kính, song song và tiếp tuyến của trục quay được kiểm (hệ tọa độ gắn với trục quay được kiểm). Trong phụ lục này, các phép kiểm thay thế được cung cấp để thực hiện kiểm với các thiết lập khác nhau của chiều cảm biến của phép đo.
CHÚ THÍCH 1: Các phép kiểm quy định trong phần phụ lục này cũng có thể áp dụng, nếu liên quan, cho các cấu hình trung tâm gia công với một trục quay điều khiển liên tục trên ụ trục chính.
CHÚ THÍCH 2: Các phép kiểm này cung cấp thông tin về khả năng của máy trong việc phối hợp đồng thời các trục. Tuy nhiên, chúng có thể không trực tiếp dự đoán sai số thực tế của phôi gia công trong quá trình cắt.
A.2.2 Chuyển động nội suy tròn bằng điều khiển đồng thời ba trục (AK1 và AK2)
Mục đích của các phép kiểm này là để kiểm độ chính xác của quỹ đạo tròn khi đồng bộ hóa chuyển động nội suy tròn của hai trục tịnh tiến với chuyển động của một trục quay với tốc độ không đổi, ngoại trừ giai đoạn khởi động/dừng ở đầu/cuối phép kiểm.
A.2.3 Chuyển động nội suy tròn bằng điều khiển đồng thời năm trục (AK3 và AK4)
Mục đích của các phép kiểm này là để kiểm độ chính xác của quỹ đạo khi điều khiển đồng thời ba trục tịnh tiến và hai trục quay ở tốc độ không đổi, đảm bảo khoảng cách giữa một điểm trên bàn máy và một điểm trên trục chính không đổi.
| Đối tượng và điều kiện kiểm |
AK1 |
|
| Kiểm sai lệch quỹ đạo của điểm tâm dụng cụ cắt (lý tưởng là một điểm cố định trong hệ tọa độ của phôi) bằng nội suy đồng thời hai trục tịnh tiến (trục X’ và Z) và trục quay của ụ nghiêng (trục B).
a) theo phương trục X, Eint,X,XZB; b) theo phương trục Z, Eint,Z,XZB; c) theo phương trục Y, Eint,Y,XZB. Độ lệch L của khối cầu chính xác so với ụ trục chính (đường chuẩn trục chính), nên xấp xỉ 150 mm. Tốc độ quay của trục B nên là 360°/min hoặc theo thỏa thuận giữa nhà sản xuất/nhà cung cấp và người sử dụng. Góc quay của trục B phải được kiểm trên toàn bộ phạm vi làm việc, giới hạn bởi nguy cơ va chạm giữa trục kiểm và cảm biến độ dịch chuyển thẳng. Phép đo phải được thực hiện theo cả hai chiều quay của trục B theo chiều kim đồng hồ và ngược chiều kim đồng hồ. CHÚ THÍCH 1: Phép kiểm c) có thể được thực hiện như một lựa chọn thay thế cho phép kiểm độ vuông góc giữa trục quay B và mặt phẳng ZX, như được mô tả trong phép kiểm hình học tương ứng trong TCVN 10170-1 (ISO 10791-1), TCVN 10170-2 (ISO 10791-2) hoặc TCVN 10170-3 (ISO 10791-3). CHÚ THÍCH 2: Phép kiểm này đề cập đến ví dụ về cấu hình máy có trục B và C trên ụ trục chính, nhưng có thể áp dụng cho các cấu hình khác (ví dụ: trục A và C trên ụ trục chính). CHÚ THÍCH 3: Đối với máy có ụ xoay không vuông góc, cần chú ý tránh va chạm giữa đồ gá và phương tiện đo. |
||
| Sơ đồ
|
||
| Dung sai (theo thỏa thuận giữa nhà sản xuất/nhà cung cấp và người sử dụng) | Sai lệch đo được | |
| a) Eint,X,XZB (CW, CCW)
b) Eint,Z,XZB (CW, CCW) c) Eint,Y,XZB (CW, CCW) |
a) Eint,X,XZB (CW, CCW)
b) Eint,Z,XZB (CW, CCW) c) Eint,Y,XZB (CW, CCW) |
|
| Mỗi giá trị theo chiều kim đồng hồ (CW) và ngược chiều kim đồng hồ (CCW) phải được báo cáo. | ||
| Phương tiện đo
Khối cầu chính xác có trục hoặc cảm biến độ dịch chuyển thẳng dạng đầu phẳng hoặc cụm cảm biến (ví dụ: phép kiểm R), hoặc thanh bi. |
||
| Xem và tham chiếu 11.3.5, ISO 230-1:2012
Đặt trục Y ở giữa hành trình. Bật chức năng điều khiển TCP. Di chuyển trục B và C về góc 0°. Khi sử dụng khối cầu chính xác có trục và cảm biến độ dịch chuyển thẳng dạng đầu phẳng: – di chuyển cảm biến độ dịch chuyển thẳng tiếp xúc với khối cầu chính xác gắn trên trục chính và quay trục chính để tìm vị trí của độ đảo trung bình; – di chuyển trục B đến – 90° và đặt cảm biến tiếp xúc khối cầu về không (zero); – quay trục B ở tốc độ không đổi đến góc dương tối đa cho phép mà không gây va chạm, ghi lại các số đọc từ cảm biến độ dịch chuyển thẳng; – quay trục B về – 90° và ghi lại số đọc từ cảm biến độ dịch chuyển thẳng; – báo cáo độ chênh lệch giữa các giá trị ghi được lớn nhất và nhỏ nhất. Độ lệch L từ khối cầu chính xác đến đầu mút trục chính phải được hiệu chỉnh và báo cáo. Tâm của khối cầu chính xác phải được căn chỉnh trên đường trung bình của trục chính, Mọi sai lệch trong căn chỉnh đều ảnh hưởng đến kết quả kiểm. Đối với thiết lập thanh bi và các lưu ý bổ sung, xem Phụ lục D. Các phép đo a), b), và c) có thể được thực hiện đồng thời bằng ba cảm biến độ dịch chuyển thẳng hoặc cụm cảm biến gắn trên bàn máy. Kết quả kiểm nên được trình bày dưới dạng đồ thị, ví dụ như Hình D.5. |
||
| Đối tượng và điều kiện kiểm |
AK1 (thay thế) |
|
| Kiểm sai lệch quỹ đạo của điểm tâm dụng cụ cắt [(lý tưởng là một đường tròn với a) và c), một điểm cố định với b)] bằng nội suy đồng hai trục tịnh tiến (trục X’ và Z) và trục quay của ụ nghiêng (trục B).
Chiều cảm biến của phép đo được thiết lập như sau: a) hướng kính với trục quay ụ nghiêng (trục B), Eint,radialB,XZB; b) song song với trục quay ụ nghiêng (trục B), Eint,axialB,XZB; c) tiếp tuyến với chuyển động quay của ụ nghiêng (trục B), Eint,tangentialB,XZB. Chiều dài danh nghĩa LB của thanh bi là 100 mm, tốc độ quay của trục B nên là 360°/min hoặc theo thỏa thuận giữa nhà sản xuất/nhà cung cấp và người sử dụng. Độ lệch từ bi cầu phía trục chính đến đầu mút trục chính (đường chuẩn trục chính) L, nên xấp xỉ 150 mm. Góc quay của trục B phải được kiểm trên toàn bộ phạm vi làm việc, giới hạn bởi nguy cơ va chạm giữa trục kiểm và cảm biến độ dịch chuyển thẳng. Phép đo phải được thực hiện theo cả hai chiều quay của trục B theo chiều kim đồng hồ và ngược chiều kim đồng hồ. CHÚ THÍCH 1: Phép kiểm b) có thể được thực hiện như một lựa chọn thay thế cho phép kiểm độ vuông góc giữa trục quay B và mặt phẳng ZX, như được mô tả trong phép kiểm hình học tương ứng trong TCVN 10170-1 (ISO 10791-1), TCVN 10170-2 (ISO 10791-2) hoặc TCVN 10170-3 (ISO 10791-3). CHÚ THÍCH 2: Phép kiểm này đề cập đến ví dụ về cấu hình máy có trục B và C trên ụ trục chính, nhưng có thể áp dụng cho các cấu hình khác (ví dụ: trục A và C trên ụ trục chính). CHÚ THÍCH 3: Đối với máy có u xoay không vuông góc, cần chú ý tránh va chạm giữa đồ gá và phương tiện đo. |
||
| Sơ đồ
|
||
| Dung sai (theo thỏa thuận giữa nhà sản xuất/nhà cung cấp và người sử dụng) | Sai lệch đo được | |
| a) Eint,radialB,XZB (CW, CCW) | a) Eint,radialB,XZB (CW, CCW) | |
| b) Eint,axialB,XZB (CW, CCW) | b) Eint,axialB,XZB (CW, CCW)
(Eint,Y,XZB (CW, CCW)) |
|
| c) Eint,tangentialB,XZB (CW, CCW) | c) Eint,tangentialB,XZB (CW, CCW) | |
| Mỗi giá trị theo chiều kim đồng hồ và ngược chiều kim đồng hồ phải được báo cáo |
|
|
| Phương tiện đo
Khối cầu chính xác có trục hoặc cảm biến độ dịch chuyển thẳng dạng đầu phẳng hoặc cụm cảm biến (ví dụ: phép kiểm R), hoặc thanh bi. |
||
| Xem và tham chiếu 11.3.5, ISO 230-1:2012
Một bi cầu của thanh bi được lắp trên bàn máy. Với phép kiểm a) và b), bi cầu phía trục chính được căn chỉnh trên đường trung bình của trục chính. Với phép kiểm c), bi cầu được đặt cách đường trung bình của trục chính một khoảng LB (xem Phụ lục D). Bi cầu phía bàn máy được lắp lên bàn máy. Trục của thanh bi được đặt hướng kính với trục B trong phép kiểm a), song song với trục B trong phép kiểm b), và tiếp tuyến với trục B trong phép kiểm c). Chuyển động nội suy đường tròn được thực hiện bởi trục X’ và Z, đồng thời quay trục của ụ nghiêng (trục B). Bật chức năng điều khiển TCP. Trong hệ tọa độ của máy, bán kính quỹ đạo của đường trung bình của trục B là H+LB trong phép kiểm a), và H trong phép kiểm b) và c), trong đó H là tổng của L và khoảng cách giữa đường chuẩn trục chính và trục B. Đối với từng phép kiểm, liên tục ghi lại số đọc của thanh bi (các thay đổi chiều dài của nó) trong quá trình chuyển động nội suy. Báo cáo độ chênh lệch giữa các giá trị ghi được lớn nhất và nhỏ nhất cho a), b) và c). Độ lệch L từ bi cầu phía trục chính đến đầu mút trục chính (đường chuẩn trục chính) phải được hiệu chỉnh và báo cáo. Trong phép kiểm a) và c), bi cầu phía bàn máy phải được căn chỉnh tại tâm quỹ đạo của bi cầu phía trục chính trong hệ tọa độ phôi. Mọi sai lệch trong căn chỉnh đều ảnh hưởng đến kết quả kiểm. Có thể sử dụng khối cầu chính xác có trục và cụm cảm biến (ví dụ: phép kiểm R) khi cụm cảm biến có thể gắn lên phía trục chính. Xem Phụ lục D để biết thêm các lưu ý bổ sung. Kết quả kiểm nên được trình bày dưới dạng đồ thị, ví dụ như Hình D.5. |
||
| Đối tượng và điều kiện kiểm |
AK2 |
|
| Kiểm sai lệch quỹ đạo của điểm tâm dụng cụ cắt (lý tưởng là một điểm cố định trong hệ tọa độ của phôi) bằng nội suy đồng hai trục tịnh tiến (trục X’ và Y) và trục quay của ụ xoay (trục C)
a) theo phương trục X, Eint,X,XYC; b) theo phương trục Y, Eint,Y,XYC; c) theo phương trục Z, Eint,Z,XYC. Khoảng cách L từ khối cầu chính xác đến đầu mút trục chính (đường chuẩn trục chính), nên xấp xỉ 150 mm. Tốc độ quay của trục C nên là 360°/min hoặc theo thỏa thuận giữa nhà sản xuất/nhà cung cấp và người sử dụng. Góc quay của trục C nên lớn hơn 360°, nếu có thể. Phép đo phải được thực hiện theo cả hai chiều quay của trục C theo chiều kim đồng hồ và ngược chiều kim đồng hồ. CHÚ THÍCH: Phép kiểm c) có thể được thực hiện như một lựa chọn thay thế cho phép kiểm độ vuông góc giữa trục quay C và mặt phẳng XY, như được mô tả trong phép kiểm hình học tương ứng trong TCVN 10170-1 (ISO 10791-1), TCVN 10170-2 (ISO 10791-2) hoặc TCVN 10170-3 (ISO 10791-3). |
||
| Sơ đồ
|
||
| Dung sai (theo thỏa thuận giữa nhà sản xuất/nhà cung cấp và người sử dụng) | Sai lệch đo được | |
| a) Eint,X,XYC (CW, CCW) | a) Eint,X,XYC (CW, CCW) | |
| b) Eint,Y,XYC (CW, CCW) | b) Eint,Y,XYC (CW, CCW) | |
| c) Eint,Z,XYC (CW, CCW) | c) Eint,Z,XYC (CW, CCW) | |
| Mỗi giá trị theo chiều kim đồng hồ và ngược chiều kim đồng hồ phải được báo cáo. | ||
| Phương tiện đo
Khối cầu chính xác có trục hoặc cảm biến độ dịch chuyển thẳng dạng đầu phẳng hoặc cụm cảm biến (ví dụ: phép kiểm R), hoặc thanh bi. |
||
| Xem và tham chiếu 11.3.5, ISO 230-1:2012
Đặt trục X và Y ở giữa hành trình. Bật chức năng điều khiển TCP. Khi sử dụng khối cầu chính xác có trục và cảm biến độ dịch chuyển thẳng dạng đầu phẳng: – di chuyển trục B và C về góc 0°; – đưa cảm biến độ dịch chuyển thẳng tiếp xúc với khối cầu chính xác và quay trục chính để tìm vị trí của độ đảo trung bình; – di chuyển trục B đến 60° và trục C đến 180; đặt cảm biến tiếp xúc khối cầu về không (zero); – quay trục C với tốc độ không đổi đến -180° và ghi lại các số đọc từ cảm biến độ dịch chuyển thẳng; – quay trục C đến 180° và ghi lại các số đọc từ cảm biến độ dịch chuyển thẳng; – báo cáo độ chênh lệch giữa các giá trị ghi được lớn nhất và nhỏ nhất cho a), b) và c). Độ lệch L từ khối cầu chính xác đến đầu mút trục chính phải được hiệu chỉnh và báo cáo. Tâm của khối cầu chính xác phải được căn chỉnh trên đường trung bình của trục chính. Mọi sai lệch trong căn chỉnh đều ảnh hưởng đến kết quả kiểm. Các phép đo a), b), và c) có thể được thực hiện đồng thời bằng ba cảm biến độ dịch chuyển thẳng hoặc cụm cảm biến gắn trên bàn máy. Đối với thiết lập thanh bi và các lưu ý bổ sung, xem Phụ lục D. Kết quả kiểm nên được trình bày dưới dạng đồ thị, ví dụ như Hình D.5. |
||
| Đối tượng và điều kiện kiểm |
AK2 (thay thế) |
|
| Kiểm sai lệch quỹ đạo của điểm tâm dụng cụ cắt [lý tưởng là một đường tròn với a) và c), một điểm cố định với b)] bằng nội suy đồng hai trục tịnh tiến (trục X’ và Y) và trục quay của ụ xoay (trục C).
Chiều cảm biến của phép đo được thiết lập như sau: a) hướng kính với trục quay (trục C), Eint,radialC,XYC; b) song song với trục quay (trục C), Eint,axialC,XYC (Eint,Z,XYC); c) tiếp tuyến với chuyển động quay của trục quay (trục C), Eint,tangentialC,XYC. Chiều dài danh nghĩa LB của thanh bi là 100mm, Tốc độ quay của trục C nên là 360°/min hoặc theo thỏa thuận giữa nhà sản xuất/nhà cung cấp và người sử dụng. Độ lệch L từ bi cầu phía trục chính đến đầu mút trục chính (đường chuẩn trục chính), nên xấp xỉ 150 mm. Phép đo phải được thực hiện theo cả hai chiều quay của trục C theo chiều kim đồng hồ và ngược chiều kim đồng hồ. CHÚ THÍCH: Phép kiểm b) có thể được thực hiện như một lựa chọn thay thế cho phép kiểm độ vuông góc giữa trục quay C và mặt phẳng XY, như được mô tả trong phép kiểm hình học tương ứng trong TCVN 10170-1 (ISO 10791-1), TCVN 10170-2 (ISO 10791-2) hoặc TCVN 10170-3 (ISO 10791-3). |
||
| Sơ đồ
|
||
| Dung sai (theo thỏa thuận giữa nhà sản xuất/nhà cung cấp và người sử dụng) | Sai lệch đo được | |
| a) Eint,radialC,XYC (CW, CCW) | a) Eint,radialC,XYC (CW, CCW) | |
| b) Eint,axialC,XYC (CW, CCW) [Eint,Z,XYC (CW, CCW)] | b) Eint,axialC,XYC (CW, CCW)
[Eint,Z,XYC (CW, CCW)] |
|
| c) Eint,tangentialC,XYC (CW, CCW) | c) Eint,tangentialC,XYC (CW, CCW) | |
| Mỗi giá trị theo chiều kim đồng hồ và ngược chiều kim đồng hồ phải được báo cáo. | ||
| Phương tiện đo
Thanh bị hoặc khối cầu chính xác có trục hoặc cảm biến độ dịch chuyển thẳng dạng đầu phẳng hoặc cụm cảm biến (ví dụ: phép kiểm R). |
||
| Xem và tham chiếu 11.3.5, ISO 230-1:2012
Trong phép kiểm a) và b), bi cầu của thanh bi phía trục chính được lắp lên đường trung bình của trục chính. Với phép kiểm c), bi cầu được đặt cách đường trung bình của trục chính một khoảng LB (xem Phụ lục D). Bi cầu phía bàn máy được lắp lên bàn máy. Trục của thanh bi được đặt hướng kính với trục C trong phép kiểm a), song song với trục C trong phép kiểm b), và tiếp tuyến với trục C trong phép kiểm c). Chuyển động nội suy đường tròn được thực hiện bởi trục X’ và Y, đồng thời quay trục quay (trục C) của ụ xoay. Bật chức năng điều khiển TCP. Đối với từng phép kiểm, liên tục ghi lại số đọc của thanh bi (các thay đổi chiều dài của nó) trong quá trình chuyển động nội suy. Báo cáo độ chênh lệch giữa các giá trị ghi được lớn nhất và nhỏ nhất cho a), b) và c). Độ lệch L từ bi cầu phía trục chính đến đầu mút trục chính (đường chuẩn trục chính) phải được hiệu chỉnh và báo cáo. Trong phép kiểm a) và c), bi cầu phía bàn máy phải được căn chỉnh tại tâm quỹ đạo của bi cầu phía trục chính trong hệ tọa độ phôi. Mọi sai lệch trong căn chỉnh đều ảnh hưởng đến kết quả kiểm. Có thể sử dụng khối cầu chính xác có trục và cụm cảm biến (ví dụ: phép kiểm R) khi cụm cảm biến có thể gắn lên phía trục chính. Xem Phụ lục D để biết thêm các lưu ý bổ sung. Kết quả kiểm nên được trình bày dưới dạng đồ thị, ví dụ như Hình D.5. |
||
| Đối tượng và điều kiện kiểm |
AK3 |
|
| Kiểm sai lệch quỹ đạo điểm tâm dụng cụ cắt theo một quỹ đạo tròn côn trong quá trình nội suy đồng thời ba trục tịnh tiến và hai trục quay.
Góc giữa trục của hình côn được lập trình và trục Z, cùng với góc đỉnh của hình côn được lập trình, phải lần lượt là 10° và 30°, hoặc 30° và 90°. Bi cầu của thanh bi phía trục chính phải được lắp và định tâm trên đường trục trung bình của trục chính. Thanh bí phải được đặt vuông góc với bề mặt côn. Đường kính của quỹ đạo tròn nên xấp xỉ 200 mm, và lượng chạy dao ngoại biên nên là 1 000 mm/min. Phép đo phải được thực hiện theo cả hai chiều quay của trục C theo chiều kim đồng hồ và ngược chiều kim đồng hồ. |
||
| Sơ đồ
|
||
| Dung sai (thỏa thuận giữa nhà sản xuất/nhà cung cấp và người sử dụng) | Sai lệch đo được | |
| – Eint,cone30°,XYZBC (CW, CCW) hoặc Eint,cone90°,XYZBC (CW, CCW) | – Eint,cone30°,XYZBC (CW, CCW) hoặc
– Eint,cone90°,XYZBC (CW, CCW) |
|
| Mỗi giá trị theo chiều kim đồng hồ và ngược chiều kim đồng hồ phải được báo cáo. | ||
| Phương tiện đo
Thanh bi. |
||
| Xem và tham chiếu 11.4, ISO 230-1:2012
Nếu đường kính khác với giá trị nêu trên, lượng chạy dao phải được điều chỉnh theo Phụ lục C của TCVN 7011-4:2013 (ISO 230-4:2005). Độ lệch từ bi cầu phía trục chính đến đầu mút trục chính (đường chuẩn trục chính) phải được hiệu chỉnh và báo cáo. Bi cầu phía trục chỉnh của thanh bi phải được căn chỉnh trên đường trục trung bình của trục chính. Mọi sai lệch trong căn chỉnh đều ảnh hưởng đến kết quả kiểm. Bi cầu phía bàn máy của thanh bi phải được căn chỉnh trên trục của hình côn (để biết quy trình căn chỉnh này, xem Hình D.2). Xem Phụ lục D để biết thêm các lưu ý cho phép kiểm này. Trong mỗi phép kiểm, ghi lại số đọc của thanh bi (thay đổi chiều dài) trong quá trình chuyển động nội suy. Báo cáo chênh lệch giữa số đọc lớn nhất và nhỏ nhất. Đường kính danh nghĩa của quỹ đạo tròn phải được ghi lại. Nếu có thể, phạm vi chuyển động của từng trục (ba trục tịnh tiến và hai trục quay) phải được báo cáo. Kết quả kiểm nên được trình bày dưới dạng đồ thị, ví dụ như Hình D.5. |
||
| Đối tượng và điều kiện kiểm |
AK4 |
|
| Kiểm sai lệch quỹ đạo của điểm tâm dụng cụ cắt (lý tưởng là một điểm cố định trong hệ tọa độ của phôi) bằng nội suy đồng ba trục tịnh tiến và hai trục quay.
a) theo phương trục X trong hệ tọa độ phôi, Eint,X,XYZBC; b) theo phương trục Y trong hệ tọa độ phôi, Eint,Y,XYZBC; c) theo phương trục Z trong hệ tọa độ phôi, Eint,Z,XYZBC. Độ lệch L từ khối cầu chính xác đến ụ trục chính (đường chuẩn trục chính), nên xấp xỉ 150 mm. Tốc độ quay của trục C nên là 360°/min hoặc theo thỏa thuận giữa nhà sản xuất/nhà cung cấp và người sử dụng. Phép đo phải được thực hiện cho chuyển động tạo công tua theo cả hai chiều quay của trục C theo chiều kim đồng hồ và ngược chiều kim đồng hồ. |
||
| Sơ đồ
|
||
| Dung sai (thỏa thuận giữa nhà sản xuất/nhà cung cấp và người sử dụng) | Sai lệch đo được | |
| a) Eint,X,XYZBC (CW, CCW) | a) Eint,X,XYZBC (CW, CCW) | |
| b) Eint,Y,XYZBC (CW, CCW) | b) Eint,Y,XYZBC (CW, CCW) | |
| c) Eint,Z,XYZBC (CW, CCW) | c) Eint,Z,XYZBC (CW, CCW) | |
| Mỗi giá trị theo chiều kim đồng hồ và ngược chiều kim đồng hồ phải được báo cáo. | ||
| Phương tiện đo
Khối cầu chính xác có trục hoặc cảm biến độ dịch chuyển thẳng dạng đầu phẳng hoặc cụm cảm biến (ví dụ: phép kiểm R), hoặc thanh bi. |
||
| Xem
Di chuyển trục B và trục C về 0°. Bật chức năng điều khiển TCP. Khi sử dụng khối cầu chính xác có trục và cảm biến độ dịch chuyển thẳng dạng đầu phẳng: – đưa cảm biến tiếp xúc với khối cầu chính xác và quay trục chỉnh để tìm vị trí độ đảo trung bình, đặt cảm biến tiếp xúc khối cầu về không (zero); – di chuyển trục C từ 0° đến 180° và đồng thời di chuyển trục B từ 0° đến 90°. Sau đó, tiếp tục quay trục C từ 180° đến 360° đồng thời quay trục B từ 90° về 0°. Chuyển động của trục B và trục C có thể bị giới hạn bởi nguy cơ va chạm với khối cầu chính xác có trục; – ghi lại số đọc của cảm biến độ dịch chuyển thẳng; – báo cáo độ chênh lệch giữa các giá trị ghi được lớn nhất và nhỏ nhất cho a), b) và c). Độ lệch L từ khối cầu chính xác đến đầu mút trục chính phải được hiệu chỉnh và báo cáo. Tâm của khối cầu chính xác phải được căn chỉnh trên đường trung bình của trục chính. Mọi sai lệch trong căn chỉnh đều ảnh hưởng đến kết quả kiểm. Có thể đo các giá trị (a), (b), và (c) đồng thời bằng ba cảm biến độ dịch chuyển thẳng hoặc cụm cảm biến gắn trên bàn máy. Nếu có thể, phạm vi chuyển động của từng trục (ba trục tịnh tiến và hai trục quay) phải được báo cáo. Đối với thiết lập thanh bi và các lưu ý bổ sung, xem Phụ lục D. Kết quả kiểm nên được trình bày dưới dạng đồ thị, ví dụ như Hình D.5. |
||
| Đối tượng và điều kiện kiểm |
AK4 (thay thế) |
|
| Kiểm sai lệch quỹ đạo của điểm tâm dụng cụ cắt theo một quỹ đạo cầu bằng nội suy đồng ba trục tịnh tiến và hai trục quay.
Chiều cảm biến của phép đo được thiết lập như sau: a) hướng kính với trục nghiêng (trục B), Eint,radialB,XYZBC; b) song song với trục nghiêng (trục B), Eint,axialB,XYZBC; c) tiếp tuyến với chuyển động quay của trục nghiêng (trục B), Eint,tangentialB,XYZBC. Chiều dài danh nghĩa LB của thanh bi là 100 mm, tốc độ quay của trục C là 360°/min hoặc theo thỏa thuận giữa nhà sản xuất/nhà cung cấp và người sử dụng. Độ lệch L từ khối cầu chính xác phía trục chính đến đầu mút trục chính (đường chuẩn trục chính), nên xấp xỉ 150 mm. Phép đo phải được thực hiện theo cả hai chiều quay của trục C theo chiều kim đồng hồ và ngược chiều kim đồng hồ. |
||
| Sơ đồ
|
||
| Dung sai (thỏa thuận giữa nhà sản xuất/nhà cung cấp và người sử dụng) | Sai lệch đo được | |
| a) Eint,radialB,XYZBC (CW, CCW)
b) Eint,axialB,XYZBC (CW, CCW) c) Eint,tangentialB,XYZBC (CW, CCW) |
a) Eint,radialB,XYZBC (CW, CCW)
b) Eint,axialB,XYZBC (CW, CCW) c) Eint,tangentialB,XYZBC (CW, CCW) |
|
| Mỗi giá trị theo chiều kim đồng hồ và ngược chiều kim đồng hồ phải được báo cáo | ||
| Phương tiện đo
Thanh bi, hoặc khối cầu chính xác có trục và cảm biến độ dịch chuyển thẳng dạng đầu phẳng, hoặc cụm cảm biến (ví dụ: phép kiểm R). |
||
| Xem và tham chiếu 11.3.5, ISO 230-1:2012
Độ lệch L bi cầu phía trục chính đến đầu mút trục chính (đường chuẩn trục chính) phải được hiệu chỉnh và báo cáo. Tâm bi cầu phía trục chính phải được căn chỉnh trên đường trung bình của trục chính. Mọi sai lệch trong căn chỉnh đều ảnh hưởng đến kết quả kiểm. Trục của thanh bi được thiết lập hướng kính với trục B trong phép kiểm a), song song trục B trong phép kiểm b), và tiếp tuyến với trục B trong phép kiểm c). Di chuyển đồng thời các trục X, Y và Z để duy trì khoảng cách không đổi giữa hai bi cầu trong khi quay trục C từ 0° đến 180° và đồng thời quay trục B từ 0° đến 90°. Sau đó, tiếp tục quay trục C từ 180° đến 360° trong khi quay trục B từ 90° về 0°. Bật chức năng điều khiển TCP. Chuyển động của trục B và trục C có thể bị giới hạn bởi nguy cơ va chạm với khối cầu chính xác có trục. Đối với từng phép kiểm, ghi lại số đọc của thanh bi (các thay đổi chiều dài của nó) trong quá trình chuyển động nội suy. Báo cáo độ chênh lệch giữa các giá trị ghi được lớn nhất và nhỏ nhất cho a), b) và c). Có thể sử dụng khối cầu chính xác có trục và cụm cảm biến (ví dụ: phép kiểm R) khi cụm cảm biến có thể gắn lên phía trục chính. Xem Phụ lục D để biết thêm các lưu ý bổ sung. Nếu có thể, phạm vi chuyển động của từng trục (ba trục tịnh tiến và hai trục quay) phải được báo cáo. Kết quả kiểm nên được trình bày dưới dạng đồ thị, ví dụ như Hình D.5. |
||
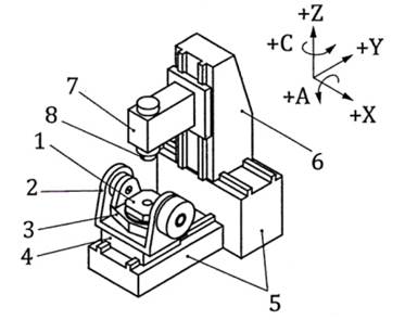
Kiểm động học cho máy có hai trục quay phía phôi
B.1 Cấu hình và ký hiệu máy
Các máy được quy định trong tiêu chuẩn này được phân loại dựa trên cấu trúc các trục tịnh tiến và trục quay. Cấu hình được mô tả bằng cách sử dụng các mã kết cấu để nối tuần tự các trục chuyển động từ phía phôi đến phía dụng cụ cắt, và ngược lại. Tên các trục chuyển động tuân theo ISO 841:2001. Ví dụ, mã kết cấu của máy được biểu thị trong Hình B.1 có thể được mô tả là [w C’ A’ Y’ b X Z (C1) t] bằng cách nối các trục chuyển động từ phía phôi đến phía dụng cụ cắt. Trong mô tả này, phía phôi và phía dụng cụ cắt được phân biệt bằng việc đặt tên phôi là “w”, dụng cụ cắt là “t”, và băng máy là “b”; (C1) biểu thị trục chính không có điều khiển số cho việc định vị góc.

CHÚ DẪN:
1 bàn máy quay (trục C’)
2 bàn kẹp (trục A’)
3 bàn đỡ
4 bàn trượt bàn máy (trục Y)
5 băng máy
6 trụ máy (trục X)
7 ụ trục chính (trục Z)
8 trục chính (trục C1)
Hình B.1 – Ví dụ điển hình của một trung tâm gia công đứng năm trục với bàn máy xoay nghiêng [w C’ A’ Y’ b X Z (C1) t]
Ngoài ra, một ký hiệu được cung cấp để xác định cấu hình của trung tâm gia công dưới dạng mã ngắn gọn, bao gồm bốn yếu tố theo thứ tự sau:
– trung tâm gia công năm trục;
– số hiệu của tiêu chuẩn này, tức là TCVN 10170 (ISO 10791);
– chữ cái H cho “horizontal – nằm ngang” (trục chính nằm ngang) hoặc V cho “vertical – thẳng đứng” (trục chính thẳng đứng);
– cấu hình kết cấu.
VÍ DỤ 1: Ký hiệu của một trung tâm gia công với trục chính thẳng đứng, bàn máy nghiêng di chuyển theo trục Y, cột máy di chuyển theo trục X, và đầu mút trục chính trượt theo trục Z (tham khảo Hình B.1):
Trung tâm gia công năm trục TCVN 10170 (ISO 10791) V [w C’ A’ Y’ b X Z (C1) t]

CHÚ DẪN:
1 bàn máy xoay đứng (trục A’)
2 bàn đỡ đứng (trục B’)
3 bàn trượt bàn máy (trục Z’)
4 băng máy
5 trụ máy (trục X)
6 ụ trục chính (trục Z)
7 trục chính (trục C1)
Hình B.2 – Ví dụ điển hình của một trung tâm gia công ngang năm trục với bàn máy xoay đứng (A’) nghiêng quanh trục B’ thẳng đứng [w A’ B’ Z’ b X Y (C1) t]
VÍ DỤ 2: Ký hiệu của một trung tâm gia công với trục chính nằm ngang, một bàn máy quay đứng (A’) nghiêng quanh trục B’ thẳng đứng (tham khảo Hình B.2):
Trung tâm gia công năm trục TCVN 10170 (ISO 10791) H [w A’ B’ Z’ b X Y (C1) t]
B.2 Kiểm động học
B.2.1 Tổng quan
Để đơn giản hóa, các phép kiểm được nêu trong Phụ lục này dựa trên ví dụ về cấu hình máy được mô tả trong Hình B.1, nhưng các phép kiểm này áp dụng được cho tất cả các cấu hình trung tâm gia công được trang bị hai trục quay phía phôi.
CHÚ THÍCH 1: Các phép kiểm quy định trong phần phụ lục này cũng có thể áp dụng, nếu liên quan, cho các cấu hình trung tâm gia công với một bàn máy quay điều khiển liên tục phía phôi (trục thứ 4), đường trung bình của trục này song song với một trong các trục tọa độ chính, và một bàn máy quay được điều khiển liên tục bổ sung có thể lắp đặt trên bàn máy quay đầu tiên sao cho đường trung bình của trục này song song với một trong hai trục tọa độ chính còn lại (cấu hình bàn-trên-bàn; xem Hình B.2).
CHÚ THÍCH 2: Về nguyên tắc, các phép kiểm trong phụ lục này cũng có thể áp dụng cho các trung tâm gia công năm trục với các trục quay có đường trung bình không song song với bất kỳ trục tịnh tiến nào nào (ví dụ: một trục quay nghiêng 45° so với các trục tịnh tiến).
B.2.2 Chuyển động nội suy tròn bằng điều khiển đồng thời ba trục (BK1 và BK2)
Mục đích của các phép kiểm này là để kiểm độ chính xác của quỹ đạo tròn khi đồng bộ hóa chuyển động nội suy tròn của hai trục tịnh tiến với chuyển động của một trục quay với tốc độ không đổi, ngoại trừ giai đoạn khởi động/dừng ở đầu/cuối phép kiểm.
B.2.3 Chuyển động nội suy tròn bằng điều khiển đồng thời năm trục (BK3 và BK4)
Mục đích của các phép kiểm này là để kiểm độ chính xác của quỹ đạo khi điều khiển đồng thời ba trục tịnh tiến và hai trục quay ở tốc độ không đổi, đảm bảo khoảng cách giữa một điểm trên bàn máy và một điểm trên trục chính không đổi.
| Đối tượng và điều kiện kiểm |
BK1 |
|
| Kiểm sai lệch quỹ đạo của điểm tâm dụng cụ cắt (lý tưởng là một điểm cố định trong hệ tọa độ của phôi) bằng nội suy đồng thời hai trục tịnh tiến (trục Y’ và Z) và trục quay (trục A’). Chiều cảm biến của phép đo được xác định như sau:
a) hướng kính với trục quay (trục A’), Eint,radialA,YZA; b) song song với trục quay (trục A’), Eint,axialA,YZA; c) tiếp tuyến với trục quay (trục A’), Eint,tangentialA,YZA. Tốc độ quay của trục A’ nên là 360° /min hoặc theo thỏa thuận giữa nhà sản xuất/nhà cung cấp và người sử dụng. Góc quay của trục A’ nên lớn hơn 180° (hoặc hành trình lớn nhất giới hạn bởi nguy cơ va chạm). Phép đo phải được thực hiện theo cả hai chiều quay của trục A’ theo chiều kim đồng hồ và ngược chiều kim đồng hồ. CHÚ THÍCH: Phép kiểm b) có thể được thực hiện như một lựa chọn thay thế cho phép kiểm độ vuông góc giữa trục quay A’ và mặt phẳng YZ, như được mô tả trong phép kiểm hình học tương ứng trong TCVN 10170-1 (ISO 10791-1), TCVN 10170-2 (ISO 10791-2) hoặc TCVN 10170-3 (ISO 10791-3). |
||
| Sơ đồ
|
||
| Dung sai (theo thỏa thuận giữa nhà sản xuất/nhà cung cấp và người sử dụng) | Sai lệch đo được | |
| a) Eint,radialA,YZA (CW, CCW)
b) Eint,axialA,YZA (CW, CCW) c) Eint,tangentialA,YZA (CW, CCW) |
a) Eint,radialA,YZA (CW, CCW)
b) Eint,axialA,YZA (CW, CCW) c) Eint,tangentialA,YZA (CW, CCW) |
|
| Mỗi giá trị theo chiều kim đồng hồ và ngược chiều kim đồng hồ phải được báo cáo | ||
| Phương tiện đo
Thanh bi, hoặc khối cầu chính xác có trục và cảm biến độ dịch chuyển thẳng dạng đầu phẳng hoặc cụm cảm biến (ví dụ: phép kiểm R). |
||
| Xem và tham chiếu 11.3.5, ISO 230-1:2012
Di chuyển trục A’ và C’ về góc 0°. Bật chức năng điều khiển TCP. Khi sử dụng khối cầu chính xác có trục và cảm biến độ dịch chuyển thẳng dạng đầu phẳng: – di chuyển cảm biến độ dịch chuyển thẳng tiếp xúc với khối cầu chính xác gắn và quay trục chính để tìm vị trí của độ đảo trung bình; – di chuyển trục A’ đến 90° và đặt cảm biến độ dịch chuyển thẳng về không (zero); – quay trục A’ đến – 90° với tốc độ không đổi và ghi lại các số đọc từ cảm biến độ dịch chuyển thẳng; – quay trục A’ đến 90° và ghi lại số đọc từ cảm biến độ dịch chuyển thẳng; – báo cáo độ chênh lệch giữa các giá trị ghi được lớn nhất và nhỏ nhất cho a), b) và c). Độ lệch Ra từ khối cầu chính xác đến trục A’ phải được báo cáo. Tâm của khối cầu chính xác phải được căn chỉnh trên đường trung bình của trục chính. Mọi sai lệch trong căn chỉnh đều ảnh hưởng đến kết quả kiểm. Độ lệch từ khối cầu chính xác đến đầu mút trục chính phải được hiệu chỉnh và báo cáo. Đối với thiết lập thanh bi và các lưu ý bổ sung, xem Phụ lục D. Các phép đo a), b), và c) có thể được thực hiện đồng thời bằng ba cảm biến độ dịch chuyển thẳng hoặc cụm cảm biến gắn trên bàn máy. Kết quả kiểm nên được trình bày dưới dạng đồ thị, ví dụ như Hình D.5. Để thực hiện phép kiểm này bằng các khối cầu chính xác và cảm biến độ dịch chuyển, cảm biến (cụm cảm biến) được lắp trên bàn máy. Do đồ gá của cảm biến độ dịch chuyển thẳng chịu ảnh hưởng của lực hấp dẫn thay đổi trong quá trình đo (do thay đổi hướng của bàn máy quay), nên đồ gá này phải đủ cứng để giảm thiểu tác động đến kết quả kiểm. |
||
| Đối tượng và điều kiện kiểm |
BK2 |
|
| Kiểm sai lệch quỹ đạo của điểm tâm dụng cụ cắt (lý tưởng là một điểm cố định trong hệ tọa độ của phôi) bằng nội suy đồng thời hai trục tịnh tiến (trục Y’ và X) và trục quay (trục C). Chiều cảm biến của phép đo được xác định như sau:
a) hướng kính với trục quay (trục C’), Eint,radialC,XYC; b) song song với trục quay (trục C’), Eint,axialC,XYC; c) tiếp tuyến với trục quay (trục C’), Eint,tangentialA,XYC. Tốc độ quay của trục C’ nên là 360°/min hoặc theo thỏa thuận giữa nhà sản xuất/nhà cung cấp và người sử dụng. Góc quay của trục C’ nên lớn hơn 360°, nếu có thể. Phép đo phải được thực hiện theo cả hai chiều quay của trục C’ theo chiều kim đồng hồ và ngược chiều kim đồng hồ. CHÚ THÍCH: Phép kiểm b) có thể được thực hiện như một lựa chọn thay thế cho phép kiểm độ vuông góc giữa trục quay C’ và mặt phẳng XY, như được mô tả trong phép kiểm hình học tương ứng trong TCVN 10170-1 (ISO 10791-1), TCVN 10170-2 (ISO 10791-2) hoặc TCVN 10170-3 (ISO 10791-3). |
||
| Sơ đồ
|
||
| Dung sai (theo thỏa thuận giữa nhà sản xuất/nhà cung cấp và người sử dụng) | Sai lệch đo được | |
| a) Eint,radialC,XYC (CW, CCW)
b) Eint,axialC,XYC (CW, CCW) c) Eint,tangentialA,XYC (CW, CCW) |
a) Eint,radialC,XYC (CW, CCW)
b) Eint,axialC,XYC (CW, CCW) c) Eint,tangentialA,XYC (CW, CCW) |
|
| Mỗi giá trị theo chiều kim đồng hồ và ngược chiều kim đồng hồ phải được báo cáo | ||
| Phương tiện đo
Thanh bi, hoặc khối cầu chính xác có trục và cảm biến độ dịch chuyển thẳng dạng đầu phẳng hoặc cụm cảm biến (ví dụ: phép kiểm R). |
||
| Xem và tham chiếu 11.3.5, ISO 230-1:2012
Di chuyển trục X đến đường trung bình của trục C’, và trục Y đến cách tâm bàn máy quay một khoảng R. Di chuyển trục A’ và C’ về góc 0°. Bật chức năng điều khiển TCP. Khi sử dụng khối cầu chính xác có trục và cảm biến độ dịch chuyển thẳng dạng đầu phẳng: – di chuyển cảm biến độ dịch chuyển thẳng tiếp xúc với khối cầu chính xác gắn trên trục chính và quay trục chính để tìm vị trí của độ đảo trung bình; – di chuyển trục C’ đến 180° và đặt cảm biến độ dịch chuyển thẳng về không (zero); – quay trục C’ đến -180° với tốc độ không đổi và liên tục ghi lại các số đọc từ cảm biến độ dịch chuyển thẳng; – quay trục C’ đến 180° và ghi lại số đọc từ cảm biến độ dịch chuyển thẳng; – báo cáo độ chênh lệch giữa các giá trị ghi được lớn nhất và nhỏ nhất cho a), b) và c). Độ lệch R từ khối cầu chính xác đến trục C’ phải được báo cáo. Tâm của khối cầu chính xác phải được căn chỉnh trên đường trung bình của trục chính. Mọi sai lệch trong căn chỉnh đều ảnh hưởng đến kết quả kiểm. Các phép đo a), b), và c) có thể được thực hiện đồng thời bằng ba cảm biến độ dịch chuyển thẳng hoặc cụm cảm biến gắn trên bàn máy. Đối với thiết lập thanh bi và các lưu ý bổ sung, xem Phụ lục D. Kết quả kiểm nên được trình bày dưới dạng đồ thị, ví dụ như Hình D.5. |
||
| Đối tượng và điều kiện kiểm |
BK3 |
|
| Kiểm sai lệch quỹ đạo điểm tâm dụng cụ cắt theo quỹ đạo (lý tưởng là một quỹ đạo tròn côn) bằng nội suy đồng thời ba trục tịnh tiến và hai trục quay.
Góc giữa đường tròn đáy hình côn được lập trình và mặt phẳng bàn máy, cùng với góc đỉnh của hình côn được lập trình, phải lần lượt là 10° và 30°, hoặc 30° và 90°. Bi cầu phía bàn máy của thanh bi phải được lắp với độ lệch (tối thiểu) d bằng 10 % đường kính bàn máy quay (miễn là phép kiểm có thể thực hiện trong phạm vi hành trình của trục tịnh tiến) so với đường trung bình của trục C’. Trục của hình côn nghiêng theo hướng của độ lệch d (xem sơ đồ). Thanh bi phải được đặt xấp xỉ vuông góc với bề mặt côn. Đường kính của quỹ đạo tròn nên xấp xỉ 200 mm, và lượng chạy dao ngoại vi nên là 1 000 mm/min. Phép đo phải được thực hiện theo cả hai chiều quay của trục C’ theo chiều kim đồng hồ và ngược chiều kim đồng hồ. CHÚ THÍCH: Thiết lập thứ hai (góc đáy 30°, góc đỉnh 90°) yêu cầu phạm vi chuyển động lớn hơn thiết lập đầu tiên, đặc biệt là đối với trục A và Z. |
||
| Sơ đồ
Quỹ đạo trong hệ tọa độ phôi CHÚ DẪN: 1 bàn máy xoay 2 bi cầu phía bàn máy 3 bi cầu phía trục chính 4 thanh bi 5 quỹ đạo của bi cầu phía bàn máy 6 quỹ đạo đáy côn ảo 7 đường trung bình trục C’ 8 trục của mặt côn được lập trình 9 đường trung bình trục A’ |
||
| Dung sai (theo thỏa thuận giữa nhà sản xuất/nhà cung cấp và người sử dụng) | Sai lệch đo được | |
| Eint,cone30°,XYZAC (CW, CCW) hoặc Eint,cone90°,XYZAC (CW, CCW) | Eint,cone30°,XYZAC (CW, CCW) hoặc
Eint,cone90°,XYZAC (CW, CCW) |
|
| Mỗi giá trị theo chiều kim đồng hồ và ngược chiều kim đồng hồ phải được báo cáo. | ||
| Phương tiện đo
Thanh bi |
||
| Xem và tham chiếu 11.4, ISO 230-1:2012
Nếu đường kính khác với giá trị nêu trên, lượng chạy dao phải được điều chỉnh theo Phụ lục C của TCVN 7011-4:2013 (ISO 230–4:2005). Bi cầu phía bàn máy nên được đặt cao hơn đường trung bình của trục A. Độ lệch da từ bi cầu phía bàn máy đến đường trung bình của trục A’ phải được báo cáo. Trong mỗi phép kiểm, ghi lại số đọc của thanh bi (thay đổi chiều dài) trong quá trình chuyển động nội suy. Báo cáo độ chênh lệch giữa các giá trị ghi được lớn nhất và nhỏ nhất. Đường kính danh nghĩa của quỹ đạo tròn và độ lệch d phải được ghi lại. Độ lệch của bi cầu phía trục chính so với đầu mút trục chính (đường chuẩn trục chính) cần được hiệu chỉnh. Bi cầu phía trục chính phải được căn chỉnh với đường trung bình của trục chính. Mọi sai lệch trong căn chỉnh đều ảnh hưởng đến kết quả kiểm. Xem phụ lục D để biết thêm các lưu ý cho phép kiểm này. Do đồ gá mang ổ từ của thanh bi gắn trên bàn máy quay chịu ảnh hưởng của lực hấp dẫn thay đổi trong quá trình đo (do thay đổi hưởng của bàn máy quay), nên đồ gá này phải đủ cứng vững để giảm thiểu tác động đến kết quả kiểm. Nếu có thể, phạm vi chuyển động của từng trục (ba trục tịnh tiến và hai trục quay) phải được báo cáo. Kết quả kiểm nên được trình bày dưới dạng đồ thị, ví dụ như Hình D.5. |
||
| Đối tượng và điều kiện kiểm |
BK4 |
|
| Kiểm sai lệch quỹ đạo của điểm tâm dụng cụ cắt (lý tưởng là một điểm cố định trong hệ tọa độ của phôi) bằng nội suy đồng ba trục tịnh tiến và hai trục quay.
a) theo phương trục X trong hệ tọa độ phôi, Eint,X,XYZAC; b) theo phương trục Y trong hệ tọa độ phôi, Eint,Y,XYZAC; c) theo phương trục Z trong hệ tọa độ phôi, Eint,Z,XYZAC. Độ lệch L từ khối cầu chính xác đến đầu mút trục chính (đường chuẩn trục chính), nên xấp xỉ 150 mm. Tốc độ quay của trục C’ nên là 360°/min hoặc theo thỏa thuận giữa nhà sản xuất/nhà cung cấp và người sử dụng. Phép đo phải được thực hiện theo cả hai chiều quay của trục C’ theo chiều kim đồng hồ và ngược chiều kim đồng hồ. |
||
| Sơ đồ
|
||
| Dung sai (thỏa thuận giữa nhà sản xuất/nhà cung cấp và người sử dụng) | Sai lệch đo được | |
| a) Eint,X,XYZAC (CW, CCW)
b) Eint,Y,XYZAC (CW, CCW) c) Eint,Z,XYZAC (CW, CCW) |
a) Eint,X,XYZAC (CW, CCW)
b) Eint,Y,XYZAC (CW, CCW) c) Eint,Z,XYZAC (CW, CCW) |
|
| Mỗi giá trị theo chiều kim đồng hồ và ngược chiều kim đồng hồ phải được báo cáo. | ||
| Phương tiện đo
Khối cầu chính xác có trục hoặc cảm biến độ dịch chuyển thẳng dạng đầu phẳng hoặc cụm cảm biến (ví dụ: phép kiểm R), hoặc thanh bi. |
||
| Xem
Di chuyển trục A’ và trục C’ về 0°. Di chuyển trục Y cách đường trung bình của trục C’ một khoảng Rc. Di chuyển trục Z cách đường trung bình của trục A’ một khoảng Ra. Bật chức năng điều khiển TCP. Khi sử dụng khối cầu chính xác có trục và cảm biến độ dịch chuyển thẳng dạng đầu phẳng: – đưa cảm biến tiếp xúc với khối cầu chính xác và quay trục chính để tìm vị trí độ đảo trung bình. Đưa cảm biến tiếp xúc khối cầu về không (zero); – di chuyển trục C’ từ 0° đến 180° và đồng thời di chuyển trục A’ từ 0° đến 90°. Sau đó, tiếp tục quay trục C’ từ 180° đến 360° trong khi quay trục A’ từ 90° về 0°. Chuyển động quay của trục A’ và trục C’ có thể bị giới hạn bởi nguy cơ va chạm với khối cầu chính xác có trục; – ghi lại số đọc của cảm biến độ dịch chuyển thẳng; – báo cáo độ chênh lệch giữa các giá trị ghi được lớn nhất và nhỏ nhất cho a), b) và c). Khoảng cách Ra và Rc phải được báo cáo. Tâm của khối cầu chính xác phải được căn chỉnh trên đường trung bình của trục chính. Mọi sai lệch trong căn chỉnh đều ảnh hưởng đến kết quả kiểm. Độ lệch từ khối cầu chính xác đến đầu mút trục chính (đường chuẩn trục chính) phải được hiệu chỉnh và báo cáo. Các phép đo a), b), và c) có thể được thực hiện đồng thời bằng ba cảm biến độ dịch chuyển thẳng hoặc cụm cảm biến gắn trên bàn máy. Đối với thiết lập thanh bi và các lưu ý bổ sung, xem Phụ lục D. Nếu có thể, phạm vi chuyển động của trục X, Y và Z phải được báo cáo. Kết quả kiểm nên được trình bày dưới dạng đồ thị, ví dụ như Hình D.5. Để thực hiện phép kiểm này bằng khối cầu chính xác và cảm biến độ dịch chuyển, cảm biến (cụm cảm biến) được lắp trên bàn máy. Do đồ ga của cảm biến độ dịch chuyển thẳng chịu ảnh hưởng của lực hấp dẫn thay đổi trong quá trình đo (do thay đổi hướng của bàn máy quay), nên đồ gá này phải đủ cứng vững để giảm thiểu tác động đến kết quả kiểm. |
||
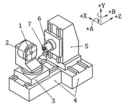
Kiểm động học cho máy có ụ xoay và/hoặc bàn máy quay
C.1 Cấu hình và ký hiệu máy
Các máy được quy định trong tiêu chuẩn này được phân loại dựa trên cấu trúc các trục tịnh tiến và trục quay. Cấu hình được mô tả bằng cách sử dụng các mã kết cấu để nối tuần tự các trục chuyển động từ phía phôi đến phía dụng cụ cắt, và ngược lại. Tên các trục chuyển động theo ISO 841:2001. Ví dụ, mã kết cấu của máy được biểu thị trong Hình C.1 có thể được mô tả là [w C’ X’ b Y Z A (C1) t] bằng cách nối các trục chuyển động từ phía phôi đến phía dụng cụ cắt. Trong mô tả nảy, phía phôi và phía dụng cụ cắt được phân biệt bằng việc đặt tên phôi là “w”, dụng cụ cắt là “t”, và băng máy là “b”; (C1) biểu thị trục chính không có điều khiển số cho việc định vị góc.

CHÚ DẪN:
1 bàn máy quay (trục C’)
2 bàn trượt bàn máy (trục X’)
3 băng máy
4 bàn trượt trụ máy (trục Y)
5 trụ máy
6 bàn trượt ách kẹp (trục Z)
7 ách kẹp
8 ụ nghiêng trục chính (trục A)
9 trục chính [(trục C1)]
Hình C.1 – Ví dụ điển hình của một trung tâm gia công đứng năm trục với một ụ xoay và bàn máy quay [w C’ X’ b Y Z A (C1) t]
Ngoài ra, một ký hiệu được cung cấp để xác định cấu hình của trung tâm gia công dưới dạng mã ngắn gọn, bao gồm bốn yếu tố theo thứ tự sau:
– trung tâm gia công năm trục;
– số hiệu của tiêu chuẩn này, tức là TCVN 10170 (ISO 10791);
– chữ cái H cho “horizontal – nằm ngang” (trục chính nằm ngang) hoặc V cho “vertical – thẳng đứng” (trục chính thẳng đứng);
– cấu hình kết cấu.
VÍ DỤ: Ký hiệu của một trung tâm gia công với trục chính thẳng đứng, bàn máy quay (trục C) di chuyển theo trục X’, trụ máy di chuyển theo trục Y, và bàn trượt ách kẹp với ụ xoay trục chính (trục A) dịch chuyển dọc theo trục Z (xem Hình C.1):
Trung tâm gia công năm trục TCVN 10170 (ISO 10791) V [w C’ X’ b Y Z A (C1) t]
C.2 Kiểm động học
C.2.1 Tổng quan
Để đơn giản hóa, các phép kiểm được nêu trong Phụ lục này dựa trên ví dụ về cấu hình máy được mô tả trong Hình C.1, mặc dù các phép kiểm này áp dụng được cho tất cả các cấu hình trung tâm gia công được trang bị ụ xoay và/hoặc bàn máy quay điều khiển liên tục.
CHÚ THÍCH: Các phép kiểm quy định trong Phụ lục này cũng có thể áp dụng, nếu liên quan, cho các cấu hình trung tâm gia công với một bàn máy quay điều khiển liên tục.
C.2.2 Chuyển động nội suy tròn bằng điều khiển đồng thời ba trục (CK1 và CK2)
Mục đích của các phép kiểm này là để kiểm độ chính xác của quỹ đạo tròn khi đồng bộ hóa chuyển động nội suy tròn của hai trục tịnh tiến với chuyển động của một trục quay với tốc độ không đổi, ngoại trừ giai đoạn khởi động/dừng ở đầu/cuối phép kiểm.
C.2.3 Chuyển động nội suy tròn bằng điều khiển đồng thời năm trục (CK3 và CK4)
Mục đích của các phép kiểm này là để kiểm độ chính xác của quỹ đạo khi điều khiển đồng thời ba trục tịnh tiến và hai trục quay ở tốc độ không đổi, đảm bảo khoảng cách giữa một điểm trên bàn máy và một điểm trên trục chính không đổi.
| Đối tượng và điều kiện kiểm |
CK1 |
|
| Kiểm sai lệch quỹ đạo của điểm tâm dụng cụ cắt (lý tưởng là một điểm cố định trong hệ tọa độ của phôi) bằng nội suy đồng thời hai trục tịnh tiến (trục Y và Z) và trục quay (trục A).
a) theo phương trục Y, Eint,Y,YZA; b) theo phương trục Z, Eint,Z,YZA; c) theo phương trục X, Eint,X,YZA. Độ lệch L từ khối cầu chính xác đến đầu mút trục chính (đường chuẩn trục chính), nên xấp xỉ 150 mm và tốc độ quay của trục A nên là 360°/min hoặc theo thỏa thuận giữa nhà sản xuất/nhà cung cấp và người sử dụng. Góc quay của trục A nên lớn hơn hành trình tối đa, giới hạn bởi nguy cơ va chạm giữa khối cầu chính xác và cảm biến độ dịch chuyển thẳng Phép đo phải được thực hiện theo cả hai chiều quay của trục A theo chiều kim đồng hồ và ngược chiều kim đồng hồ. CHÚ THÍCH: Phép kiểm c) có thể được thực hiện như một lựa chọn thay thế cho phép kiểm độ vuông góc giữa trục quay A và mặt phẳng YZ, như được mô tả trong phép kiểm hình học tương ứng trong TCVN 10170-1 (ISO 10791-1), TCVN 10170-2 (ISO 10791-2) hoặc TCVN 10170-3 (ISO 10791-3). |
||
| Sơ đồ
|
||
| Dung sai (theo thỏa thuận giữa nhà sản xuất/nhà cung cấp và người sử dụng) | Sai lệch đo được | |
| a) Eint,Y,YZA (CW, CCW)
b) Eint,Z,YZA (CW, CCW) c) Eint,X,YZA (CW, CCW) |
a) Eint,Y,YZA (CW, CCW)
b) Eint,Z,YZA (CW, CCW) c) Eint,X,YZA (CW, CCW) |
|
| Mỗi giá trị theo chiều kim đồng hồ và ngược chiều kim đồng hồ phải được báo cáo. | ||
| Phương tiện đo
Khối cầu chính xác có trục và cảm biến độ dịch chuyển thẳng dạng đầu phẳng hoặc cụm cảm biến (ví dụ: phép kiểm R), hoặc thanh bi. |
||
| Xem và tham chiếu 11.3.5, ISO 230-1:2012
Đưa trục X về giữa hành trình. Bật chức năng điều khiển TCP. Đưa trục A về 0°. Khi sử dụng khối cầu chính xác có trục và cảm biến độ dịch chuyển thẳng dạng đầu phẳng: – di chuyển cảm biến độ dịch chuyển thẳng tiếp xúc với khối cầu chính xác gắn trên trục chính và quay trục chính để tìm vị trí của độ đảo trung bình. Đặt cảm biến độ dịch chuyển thẳng về không (zero); – quay trục A đến -90° và ghi lại số đọc từ cảm biến độ dịch chuyển thẳng; – quay trục A đến 0° và ghi lại số đọc từ cảm biến độ dịch chuyển thẳng; – báo cáo độ chênh lệch giữa các giá trị ghi được lớn nhất và nhỏ nhất cho a), b) và c). Độ lệch L từ khối cầu chính xác đến đầu mút trục chính (đường chuẩn trục chính) phải được hiệu chỉnh và báo cáo. Tâm của khối cầu chính xác phải được căn chỉnh trên đường trung bình của trục chính. Mọi sai lệch trong căn chỉnh đều ảnh hưởng đến kết quả kiểm. Các phép đo (a), (b), và (c) có thể được thực hiện đồng thời bằng ba cảm biến độ dịch chuyển thẳng hoặc cụm cảm biến gắn trên bàn máy. Đối với thiết lập thanh bi và các lưu ý bổ sung, xem Phụ lục D. Kết quả kiểm nên được trình bày dưới dạng đồ thị, ví dụ như Hình D.5. |
||
| Đối tượng và điều kiện kiểm |
CK1 (thay thế) |
|
| Kiểm sai lệch quỹ đạo của điểm tâm dụng cụ cắt [lý tưởng là một đường tròn với a) và c), một điểm cố định với b)] bằng nội suy đồng hai trục tịnh tiến (trục Y và Z) và một trục quay (trục A).
Chiều cảm biến của phép đo được thiết lập như sau: a) hướng kính với trục xoay (trục A), Eint,radialA,YZA; b) song song với trục xoay (trục A), Eint,axialA,YZA; c) tiếp tuyến với chuyển động quay của trục xoay (trục A), Eint,tangentialA,YZA. Độ lệch L từ bi cầu phía trục chính đến đầu mút trục chính (đường chuẩn trục chính), nên xấp xỉ 150 mm. Chiều dài danh nghĩa LB của thanh bi là 100 mm, tốc độ quay của trục A nên là 360°/min hoặc theo thỏa thuận giữa nhà sản xuất/nhà cung cấp và người sử dụng. Góc quay của trục phải lớn hơn hành trình chuyển động, giới hạn bởi nguy cơ va chạm. Phép đo phải được thực hiện theo cả hai chiều quay của trục A theo chiều kim đồng hồ và ngược chiều kim đồng hồ. CHÚ THÍCH: Phép kiểm b) có thể được thực hiện như một lựa chọn thay thế cho phép kiểm độ vuông góc giữa trục quay A và mặt phẳng YZ, như được mô tả trong phép kiểm hình học tương ứng trong TCVN 10170-1 (ISO 10791-1), TCVN 10170-2 (ISO 10791-2) hoặc TCVN 10170-3 (ISO 10791-3). |
||
| Sơ đồ
|
||
| Dung sai (theo thỏa thuận giữa nhà sản xuất/nhà cung cấp và người sử dụng) | Sai lệch đo được | |
| a) Eint,radialA,YZA (CW, CCW)
b) Eint,axialA,YZA (CW, CCW) [Eint,X,YZA (CW, CCW)] c) Eint,tangentialA,YZA (CW, CCW) |
a) Eint,radialA,YZA (CW, CCW)
b) Eint,axialA,YZA (CW, CCW) [Eint,X,YZA (CW, CCW)] c) Eint,tangentialA,YZA (CW, CCW) |
|
| Mỗi giá trị theo chiều kim đồng hồ và ngược chiều kim đồng hồ phải được báo cáo | ||
| Phương tiện đo
Khối cầu chính xác có trục và cụm cảm biến (ví dụ: phép kiểm R), hoặc thanh bi. |
||
| Xem và tham chiếu 11.3.5, ISO 230-1:2012
Bi cầu phía trục chính được lắp lên đường trung bình của trục chính. Trục của thanh bi được đặt hướng kính với trục A trong phép kiểm a), song song với trục A trong phép kiểm b), và tiếp tuyến với trục A trong phép kiểm c). Chuyển động nội suy đường tròn được thực hiện bởi trục Y và Z, đồng thời quay trục của trục xoay (trục A) trong ụ trục chính. Bật chức năng điều khiển TCP. Đối với từng phép kiểm, liên tục ghi lại số đọc của thanh bi (các thay đổi chiều dài của nó) trong quá trình chuyển động nội suy. Báo cáo độ chênh lệch giữa các giá trị ghi được lớn nhất và nhỏ nhất cho a), b) và c). Chiều dài danh nghĩa LB của thanh bi và độ lệch L từ bi cầu phía trục chính đến đầu mút trục chính phải được hiệu chỉnh và báo cáo. Trong phép kiểm a) và c), bi cầu phía bàn máy phải được căn chỉnh tại tâm quỹ đạo của bi cầu phía trục chính trong hệ tọa độ phôi (xem Hình D.2 để biết thêm về quy trình căn chỉnh này). Mọi sai lệch trong căn chỉnh đều ảnh hưởng đến kết quả kiểm. Có thể sử dụng cụ cắt, cảm biến nếu có thể gắn lên phía trục chính. Xem Phụ lục D để biết thêm các lưu ý bổ sung. Kết quả kiểm nên được trình bày dưới dạng đồ thị, ví dụ như Hình D.5. |
||
| Đối tượng và điều kiện kiểm |
CK2 |
|
| Kiểm sai lệch quỹ đạo của điểm tâm dụng cụ cắt (lý tưởng là một điểm cố định trong hệ tọa độ của phôi) bằng nội suy đồng hai trục tịnh tiến (trục X’ và Y) và một trục quay (trục C’). Chiều cảm biến của phép đo được xác định như sau:
a) tiếp tuyến với chuyển động quay của trục quay (trục C’), Eint,tangentialC,XYC; b) hướng kính với trục quay (trục C’), Eint,radialC,XYC; c) song song trục quay (trục C), Eint,axialC,XYC (Eint,Z,XYC). Tốc độ quay của trục C’ nên là 360°/min hoặc theo thỏa thuận giữa nhà sản xuất/nhà cung cấp và người sử dụng. Góc quay của trục C’ nên lớn hơn 360°, nếu áp dụng được. Phép đo phải được thực hiện theo cả hai chiều quay của trục C’ theo chiều kim đồng hồ và ngược chiều kim đồng hồ. CHÚ THÍCH: Phép kiểm c) có thể được thực hiện như một lựa chọn thay thế cho phép kiểm độ vuông góc giữa trục quay C’ và mặt phẳng XY, như được mô tả trong phép kiểm hình học tương ứng trong TCVN 10170-1 (ISO 10791-1), TCVN 10170-2 (ISO 10791-2) hoặc TCVN 10170-3 (ISO 10791-3). |
||
| Sơ đồ
|
||
| Dung sai (thỏa thuận giữa nhà sản xuất/nhà cung cấp và người sử dụng) | Sai lệch đo được | |
| a) Eint,tangentialC,XYC (CW, CCW)
b) Eint,radialC,XYC (CW, CCW) c) Eint,axialC,XYC (CW, CCW) |
a) Eint,tangentialC,XYC (CW, CCW)
b) Eint,radialC,XYC (CW, CCW) c) Eint,axialC,XYC (CW, CCW) |
|
| Mỗi giá trị theo chiều kim đồng hồ và ngược chiều kim đồng hồ phải được báo cáo. | ||
| Phương tiện đo
Khối cầu chính xác có trục và cảm biến độ dịch chuyển thẳng dạng đầu phẳng hoặc cụm cảm biến (ví dụ: phép kiểm R), hoặc thanh bi. |
||
| Xem và tham chiếu 11.3.5, ISO 230-1:2012
Di chuyển trục X’ đến tâm bàn máy quay và trục Y đến cách đường trung bình trục C một khoảng R. Đưa trục A và C’ về 0°. Bật chức năng điều khiển TCP. Khi sử dụng khối cầu chính xác có trục và cảm biến độ dịch chuyển thẳng dạng đầu phẳng: – đưa cảm biến độ dịch chuyển thẳng tiếp xúc với khối cầu chính xác và quay trục chính để tìm vị trí của độ đảo trung bình; – đặt cảm biến độ dịch chuyển thẳng về không (zero); – quay trục C’ với tốc độ không đổi đến 360° và liên tục ghi lại các số đọc từ cảm biến độ dịch chuyển thẳng; – quay trục C’ đến 0° và ghi lại số đọc từ cảm biến độ dịch chuyển thẳng; – báo cáo độ chênh lệch giữa các giá trị ghi được lớn nhất và nhỏ nhất cho a), b) và c). Khoảng cách R phải được báo cáo. Tâm của khối cầu chính xác phải được căn chỉnh trên đường trung bình của trục chính. Mọi sai lệch trong căn chỉnh đều ảnh hưởng đến kết quả kiểm. Các phép đo a), b), và c) có thể được thực hiện đồng thời bằng ba cảm biến độ dịch chuyển thẳng hoặc cụm cảm biến gắn trên bàn máy. Xem Phụ lục D để biết các lưu ý về quy trình kiểm và các lưu ý bổ sung. Kết quả kiểm nên được trình bày dưới dạng đồ thị, ví dụ như Hình D.5. |
||
| Đối tượng và điều kiện kiểm |
CK3 |
|
| Kiểm sai lệch quỹ đạo điểm tâm dụng cụ cắt (lý tưởng là một quỹ đạo tròn côn) bằng nội suy đồng thời ba trục tịnh tiến và hai trục quay.
Góc giữa đường tròn đáy của hình côn được lập trình và bàn máy, cùng với góc đỉnh của hình côn được lập trình, phải lần lượt là 10° và 30°, hoặc 30° và 90°. Bi cầu phía bàn máy của thanh bi phải được lắp với độ lệch (tối thiểu) d bằng 10% đường kính bàn máy quay (miễn là phép kiểm có thể thực hiện trong phạm vi hành trình của trục tịnh tiến) so với đường trung bình của trục C’. Trục của hình côn nghiêng theo hướng của độ lệch d (xem sơ đồ). Thanh bi phải được đặt xấp xỉ vuông góc với bề mặt côn. Đường kính của quỹ đạo tròn nên xấp xỉ 200 mm, và lượng chạy dao ngoại vi nên là 1 000 mm/min. Phép đo phải được thực hiện theo cả hai chiều quay của trục C theo chiều kim đồng hồ và ngược chiều kim đồng hồ. |
||
| Sơ đồ
CHÚ DẪN: 1 bàn máy quay 2 bi cầu phía bàn máy 3 bi cầu phía trục chính 4 thanh bi 5 quỹ đạo của bi cầu phía bàn máy 6 quỹ đạo đáy côn ảo 7 đường trung bình trục C’ 8 trục của hình côn được lập trình |
||
| Dung sai (theo thỏa thuận giữa nhà sản xuất/nhà cung cấp và người sử dụng) | Sai lệch đo được | |
| – Eint,cone30°,XYZAC (CW, CCW) hoặc Eint,cone90°,XYZAC (CW, CCW) | – Eint,cone30°,XYZAC (CW, CCW), hoặc
– Eint,cone90°,XYZAC (CW, CCW) |
|
| Mỗi giá trị theo chiều kim đồng hồ và ngược chiều kim đồng hồ phải được báo cáo. | ||
| Phương tiện đo
Thanh bi |
||
| Xem và tham chiếu 11.4, ISO 230-1:2012
Nếu đường kính khác với giá trị nêu trên, lượng chạy dao phải được điều chỉnh theo Phụ lục C của TCVN 7011-4:2013 (ISO 230–4:2005). Đối với từng phép kiểm, ghi lại số đọc của thanh bi (các thay đổi chiều dài của nó) trong quá trình chuyển động nội suy. Báo cáo độ chênh lệch giữa các giá trị ghi được lớn nhất và nhỏ nhất. Đường kính của quỹ đạo tròn và độ lệch d phải được ghi lại. Độ lệch L của bi cầu phía trục chính so với đầu mút trục chính (đường chuẩn trục chính) cần được hiệu chỉnh và báo cáo. Bi cầu phía trục chính phải được căn chỉnh trên đường trung bình của trục chính, Mọi sai lệch trong căn chỉnh đều ảnh hưởng đến kết quả kiểm. Xem phụ lục D để biết thêm các lưu ý cho phép kiểm này. Nếu có thể, phạm vi chuyển động của từng trục (ba trục tịnh tiến và hai trục quay) phải được báo cáo. Kết quả kiểm nên được trình bày dưới dạng đồ thị, ví dụ như Hình D.5. |
||
| Đối tượng và điều kiện kiểm |
CK4 |
|
| Kiểm sai lệch quỹ đạo của điểm tâm dụng cụ cắt (lý tưởng là một điểm cố định trong hệ tọa độ của phôi) bằng nội suy đồng thời ba trục tịnh tiến và hai trục quay.
a) theo phương trục X trong hệ tọa độ phôi, Eint,X,XYZAC; b) theo phương trục Y trong hệ tọa độ phôi, Eint,Y,XYZAC; c) theo phương trục Z trong hệ tọa độ phôi, Eint,Z,XYZAC. Độ lệch L từ khối cầu chính xác đến ụ trục chính (đường chuẩn trục chính), nên xấp xỉ 150 mm. Tốc độ quay của trục C’ nên là 360°/min hoặc theo thỏa thuận giữa nhà sản xuất/nhà cung cấp và người sử dụng. Phép đo phải được thực hiện theo cả hai chiều quay của trục C theo chiều kim đồng hồ và ngược chiều kim đồng hồ. |
||
| Sơ đồ
|
||
| Dung sai (theo thỏa thuận giữa nhà sản xuất/nhà cung cấp và người sử dụng) | Sai lệch đo được | |
| a) Eint,X,XYZAC (CW, CCW)
b) Eint,Y,XYZAC (CW, CCW) c) Eint,Z,XYZAC (CW, CCW) |
a) Eint,X,XYZAC (CW, CCW)
b) Eint,Y,XYZAC (CW, CCW) c) Eint,Z,XYZAC (CW, CCW) |
|
| Mỗi giá trị theo chiều kim đồng hồ và ngược chiều kim đồng hồ phải được báo cáo. | ||
| Phương tiện đo
Khối cầu chính xác có trục hoặc cảm biến độ dịch chuyển thẳng dạng đầu phẳng hoặc cụm cảm biến (ví dụ: phép kiểm R), hoặc thanh bi. |
||
| Xem
Di chuyển trục A’ và trục C’ về 0°. Di chuyển trục Y cách đường trung bình của bàn máy quay C’ một khoảng R. Bật chức năng điều khiển TCP. Khi sử dụng khối cầu chính xác có trục và cảm biến độ dịch chuyển thẳng dạng đầu phẳng: – đưa cảm biến tiếp xúc với khối cầu chính xác và quay trục chính để tìm vị trí độ đảo trung bình, đặt cảm biến tiếp xúc khối cầu về không (zero); – di chuyển trục C’ từ 0° đến 180° và đồng thời di chuyển trục A từ 0° đến -90°. Sau đó, tiếp tục quay trục C’ từ 180° đến 360° trong khi quay trục A’ từ -90° về 0°; – chuyển động của trục C’ có thể bị giới hạn bởi nguy cơ va chạm với khối cầu chính xác có trục; – ghi lại số đọc của cảm biến độ dịch chuyển thẳng; – báo cáo độ chênh lệch giữa các giá trị ghi được lớn nhất và nhỏ nhất cho a), b) và c); – chuyển động quay của trục A và trục C có thể bị giới hạn bởi nguy cơ va chạm. Khoảng cách R và độ lệch từ khối cầu chính xác đến đầu mút trục chính (đường chuẩn trục chính) phải được hiệu chỉnh và báo cáo. Tâm của khối cầu chính xác phải được căn chỉnh trên đường trung bình của trục chính. Mọi sai lệch trong căn chỉnh đều ảnh hưởng đến kết quả kiểm. Các phép đo a), b), và c) có thể được thực hiện đồng thời bằng ba cảm biến độ dịch chuyển thẳng hoặc cụm cảm biến gắn trên bàn máy. Nếu có thể, phạm vi chuyển động của từng trục (ba trục tịnh tiến và hai trục quay) phải được báo cáo. Đối với thiết lập thanh bi và các lưu ý bổ sung, xem Phụ lục D. Kết quả kiểm nên được trình bày dưới dạng đồ thị, ví dụ như Hình D.5. |
||
Lưu ý khi thiết lập kiểm cho các Phụ lục A đến Phụ lục C
D.1 Tổng quan
Kết quả kiểm trong trong các Phụ lục A đến C sử dụng một trong các phương án a) khối cầu chính xác có trục và cảm biến độ dịch chuyển thẳng dạng đầu phẳng, b) khối cầu chính xác có trục và cụm cảm biến (ví dụ: phép kiểm R), và c) thanh bi, có thể bị ảnh hưởng bởi cách thiết lập các phương tiện đo. Phụ lục này đưa ra các lưu ý trong quy trình kiểm để giảm đến mức tối thiểu ảnh hưởng của sai số thiết lập.
D.2 Phép kiểm với thanh bi ống lồng
D.2.1 Căn chỉnh khối cầu chính xác
Đối với tất cả các phép kiểm trong Phụ lục A đến C ngoại trừ phép kiểm AK1 (thay thế), AK2 (thay thế), và CK1 (thay thế), khối cầu chính xác của thanh bi phía trục chính phải được căn chỉnh với đường trung bình của trục chính. Mọi sai lệch trong căn chỉnh đều ảnh hưởng đến kết quả kiểm.
Việc căn chỉnh này có thể được thực hiện bằng cách sử dụng đồ gá gắn với trục chính để điều chỉnh vị trí bi cầu một cách chính xác. Xem ví dụ Hình D.1 về đồ gá tương tự.
Ngoài ra, khi trục quay được kiểm không ở phía trục chính (các phép kiểm trong Phụ lục B và CK2), vị trí tương đối của tâm khối cầu so với đường trung bình của trục chính có thể được đo, sau đó hệ tọa độ của máy có thể được điều chỉnh để bù sai lệch này. Vị trí của tâm khối cầu có thể được đo bằng cách đo độ đảo hướng kính khi quay trục chính sử dụng cảm biến độ dịch chuyển thẳng.
Bi cầu phía trục chính của thanh bi được đặt ở vị trí sao cho thanh bi được hướng theo chiều cảm biến của phép đo được chỉ định trong từng phép kiểm. Đối với tất cả phép kiểm trong các Phụ lục A đến Phụ lục C ngoại trừ AK1 (thay thế), AK2 (thay thế), và CK1 (thay thế), bi cầu phía trục chính của thanh bi không cần phải được căn chỉnh chính xác. Điều này không ảnh hưởng đến kết quả kiểm (ảnh hưởng bậc hai).

CHÚ DẪN:
1 ổ từ
2 giá đỡ nam châm
3 ốc vít
4 thân gá vào mâm cặp
Hình D.1 – Ví dụ về đồ gá căn chỉnh bi cầu phía trục chính

|
a) Đo vị trí XY |
b) Đo vị trí Z |

c) Phương pháp thay thế để đo các vị trí X và Z bằng thanh bi
CHÚ DẪN:
1 khối cầu chính xác phía bàn máy
2 cảm biến độ dịch chuyển thẳng
3 bàn máy
4 hệ thống thiết lập chiều dài dụng cụ cắt
5 khối cầu chính xác phía trục chính
6 thanh bi
Hình D.2 – Quy trình đo vị trí khối cầu phía bàn máy
Trong các phép kiểm AK1 (thay thế), AK2 (thay thế), và CK1 (thay thế), bi cầu phía bàn máy của thanh bi được căn chỉnh tại tâm của quỹ đạo của bi cầu phía trục chính trong hệ tọa độ phôi. Khi bi cầu phía bàn máy được đặt trên bàn máy, vị trí của nó trong hệ tọa độ máy được đo bằng cảm biến độ dịch chuyển thẳng và hệ thống thiết lập chiều dài dụng cụ cắt [xem Hình D.2 a) và b)] hoặc bằng thanh bi [xem Hình D.2 c)]. Ví dụ, khoảng cách theo hướng trục Z của bi cầu phía bàn máy thường được hiệu chỉnh như sau [Hình D.2 c)]: Trước tiên, khoảng cách theo hướng trục z từ tâm bi cầu phía bàn máy đến bề mặt bàn máy được đo bằng cảm biến độ dịch chuyển thẳng gắn trên trục chính. Sau đó, bi cầu phía trục chính được lắp vào trục chính, và vị trí Z của nó được hiệu chỉnh bằng hệ thống thiết lập chiều dài dụng cụ cắt gắn trên bàn máy. Giả sử chiều cao của hệ thống thiết lập chiều dài dụng cụ cắt (khoảng cách từ bi cầu phía trục chính đến bề mặt bàn máy) đã được hiệu chỉnh trước, vị trí Z tương đối của bi cầu phía bàn máy với bi cầu phía trục chính có thể được tính toán. Trong các phép kiểm này, vị trí của bi cầu phía trục chính của thanh bi không ảnh hưởng đến kết quả kiểm (ảnh hưởng bậc hai).
D.2.2 Lập trình
Các phép kiểm AK1, AK2, AK4, BK1, BK2, BK4, CK1, CK2, và CK4 có thể được thực hiện bằng thanh bi hoặc khối cầu chính xác có trục và cảm biến độ dịch chuyển thẳng.
Trục quay được điều khiển theo quy định của từng phép kiểm. Chuyển động của các trục tịnh tiến được lập trình sao cho hướng của thanh bi như đã quy định với từng phép kiểm trong suốt chu trình kiểm.

Hình D.3 – Kiểm bằng thanh bi cho AK1 (phương X)

Hình D.4 – Kiểm bằng thanh bi cho AK1 (thay thế) (phương tiếp tuyến)
Ví dụ, trong phép kiểm AK1 (phương X), các quỹ đạo X và Z được thiết lập sao cho thanh bi luôn được hướng xấp xỉ theo trục X. Trong các phép kiểm AK1, AK2, AK4 và CK1 (đo trong hệ tọa độ máy theo hướng X, Y và Z), quỹ đạo điều khiển của các trục tịnh tiến giống hệt như khi sử dụng khối cầu chính xác và cảm biến độ dịch chuyển thẳng. Xem Hình D.3 để biết ví dụ về thiết lập kiểm thanh bi trong AK1 (hướng X).
Trong AK1 (thay thế), AK2 (thay thế) và CK1 (thay thế), bi cầu phía bàn máy của thanh bi (phía không có trục quay được kiểm) được đặt tại cùng vị trí với bi cầu trong phép kiểm gốc (AK1, AK2 và CK1). Ví dụ, trong phép kiểm c) (phương tiếp tuyến) của AK1 (thay thế) (xem Hình D.4), khối cầu phía bàn máy được đặt tại tâm của quỹ đạo tròn (trên đường trung bình của trục chính). Một đồ gá, như trong Hình D.4, được sử dụng để đặt khối cầu phía trục chính cách khỏi đường trung bình của trục chính. Thiết lập này đo sai số tiếp tuyến với chuyển động quay của trục xoay (trục B) tại vị trí bi cầu phía bàn máy. Do đó, các phép kiểm AK1 (thay thế) có thể được coi là tương đương về mặt động học với các phép kiểm AK1. Thanh bi cũng được thiết lập tương tự trong BK1 và BK2.
Để thuận tiện cho việc lập trình, bật chức năng điều khiển TCP (định vị điểm tâm dụng cụ cắt). Chức năng này cho phép tự động đồng bộ các trục tịnh tiến theo chuyển động đã lập trình của trục quay.
Các phép kiểm trong các Phụ lục A đến C, lượng chạy dao và hành trình của các trục tịnh tiến trong hệ tọa độ máy được thay đổi theo khoảng cách từ tâm bi cầu đến trục quay. Độ nhạy đối với các chuyển động có sai số góc và đối với sai số định hướng của trục quay tăng lên (cũng như độ nhạy đối với các chuyển động có sai số của các trục tịnh tiến và các sai số định hướng) nếu khoảng cách này trở nên lớn hơn.
D.2.3 Quy trình kiểm
Đối với tất cả các phép kiểm trong Phụ lục A đến C, chiều dài tham chiếu LB của thanh bi cần được xác định, và độ lệch của bi cầu phía trục chính so với đầu mút trục chính (đường chuẩn trục chính) nên được hiệu chỉnh. Độ lệch của bi cầu chính xác với so đầu mút trục chính (đường chuẩn trục chính) thường có thể được hiệu chỉnh bằng cách sử dụng hệ thống thiết lập chiều dài dụng cụ cắt. Trước tiên, một dụng cụ cắt tham chiếu có chiều dài đã được hiệu chỉnh [khoảng cách từ đầu mút trục chính (đường chuẩn trục chính) đến mũi dụng cụ cắt] được gắn vào trục chính. Vị trí Z tại mũi dụng cụ cắt được hiệu chỉnh bằng hệ thống thiết lập chiều dài dụng cụ cắt được lắp trên bàn máy. Sau đó, khối bi chính xác được gắn vào trục chính, và vị trí Z của nó được đo với thiết lập tương tự. Độ lệch của bi cầu chính xác so với đầu mút trục chính (đường chuẩn trục chính) có thể được tính toán từ chênh lệch vị trí Z đo được, chiều dài dụng cụ cắt tham chiếu đã được hiệu chỉnh, và bán kính của bi cầu chính xác đã được hiệu chỉnh.
Các phép kiểm trong các Phụ lục A đến C, hai quỹ đạo thực tế phải được đo liên tiếp theo chiều kim đồng hồ và ngược chiều kim đồng hồ của trục quay đang được kiểm.
D.2.4 Trình bày kết quả
Tất cả dữ liệu đo tương ứng với quỹ đạo thực tế, bao gồm các điểm đảo chiều và các điểm cực trị tại điểm bắt đầu và kết thúc, đều được sử dụng trong quá trình đánh giá.
Ưu tiên trình bày độ dịch chuyển đo được dưới dạng biểu đồ cực như các phép kiểm độ tròn trong TCVN 7011-4:2013 (ISO 230-4:2005). Sai lệch phải được thể hiện bằng biểu đồ theo vị trí góc danh nghĩa của trục quay được kiểm. Ví dụ, trong BK2, dữ liệu được vẽ theo vị trí góc danh nghĩa của trục C, giả sử trục quay này có vận tốc góc không đổi ngoại trừ giai đoạn bắt đầu/kết thúc (tham khảo Hình D.5). Đối với việc trình bày kết quả của chuyển động năm trục, vị trí góc danh nghĩa của trục C được lấy làm tham chiếu cho vị trí góc của các sai lệch.
Một số phần mềm thương mại dành cho phép kiểm độ tròn theo mặc định sẽ thực hiện định tâm tự động để đánh giá sai lệch tròn. Chức năng này cần được tắt để đánh giá các giá trị “thô” đo được từ thanh bi (thay đổi chiều dài). Nếu có thể, dịch chuyển của thanh bi phải được đặt lại về không tại thời điểm bắt đầu đo.
Các phép kiểm chỉ yêu cầu báo cáo độ chênh lệch giữa các giá trị ghi được lớn nhất và nhỏ nhất.

| a) BK2 (theo phương hướng kính với trục C) |
b) BK1 (theo phương hướng kính với trục A) |
CHÚ DẪN:
1 độ dịch chuyển đo được (theo chiều kim đồng hồ)
2 độ dịch chuyển đo được (ngược chiều kim đồng hồ)
3 quỹ đạo tròn tham chiếu
4 vị trí theo trục X, tính bằng milimét
5 vị trí theo trục Y, tính bằng milimét
6 vị trí theo trục Z, tính bằng milimét
Hình D.5 – Ví dụ về cách trình bày dữ liệu cho phép kiểm BK1 và BK2
D.3 Phép kiểm với trục kiểm bi cầu và cảm biến độ dịch chuyển thẳng hoặc cụm cảm biến
D.3.1 Căn chỉnh khối cầu chính xác
Khối cầu chính xác có trục có thể được lắp ở phía dụng cụ cắt hoặc phía bàn máy. Tuy nhiên, tất cả các phép kiểm, ngoại trừ AK1 (thay thế), AK2 (thay thế) và CK1 (thay thế), đều yêu cầu lắp khối cầu chính xác ở phía trục chính. Tâm của khối cầu được căn chỉnh với đường trung bình của trục chính. Độ lệch của khối cầu chính xác so với đầu mút trục chính (đường chuẩn trục chính) phải được hiệu chỉnh.
Trong tất cả các phép kiểm, ngoại trừ AK1 (thay thế), AK2 (thay thế) và CK1 (thay thế), khi khối cầu chính xác có trục được lắp ở phía dụng cụ cắt, các sai số dịch chuyển theo hướng X, Y và Z trong hệ tọa độ phôi phải được đo. Trong các phép kiểm AK1 (thay thế), AK2 (thay thế) và CK1 (thay thế), chiều cảm biến là hướng kính, song song và tiếp tuyến với trục quay. Các giá trị này có thể được chuyển đổi hình học lẫn nhau thông qua phép biến đổi tọa độ.
Một số thiết bị phép kiểm-R thương mại cho phép lắp khối cầu ở phía trục chính (với cụm cảm biến trên bàn máy) hoặc ở phía bàn máy (với cụm cảm biến trên trục chính). Để thực hiện các phép kiểm AK1 (thay thế), AK2 (thay thế) và CR1 (thay thế), khối cầu phải được lắp ở phía bàn máy. Vị trí của khối cầu được căn chỉnh tại tâm của quỹ đạo tròn trong hệ tọa độ phôi theo cách tương tự như trình bày trong D.2.1.
CHÚ THÍCH: Quy trình kiểm với khối cầu chính xác có trục và cảm biến độ dịch chuyển thẳng hoặc cụm cảm biến (ví dụ: R-test) có thể giống với phép kiểm sử dụng thanh bi khi có cùng độ lệch, đường kính và vận tốc (xem hình D.2.2). Khi cụm cảm biến được lắp trên trục nghiêng (ví dụ: BK1), độ cứng vững của đồ gá phải đủ lớn để biến dạng do trọng lực là không đáng kể.
D.3.2 Quy trình kiểm
Khi khối cầu chính xác được lắp trên trục chính, quy trình kiểm tổng quát như sau: Đặt khối cầu theo vị trí quy định trong từng phép kiểm. Đưa cảm biến độ dịch chuyển thẳng tiếp xúc với khối cầu chính xác, và quay trục chính để tìm vị trí độ đảo trung bình. Đặt cảm biến độ dịch chuyển thẳng về không (zero). Sau đó, bắt đầu chuyển động kiểm và ghi lại các số đọc của cảm biến độ dịch chuyển thẳng.
Trong tất cả các phép kiểm của các Phụ lục A đến C, hai quỹ đạo thực cần được đo liên tiếp theo chiều kim đồng hồ và ngược chiều kim đồng hồ của trục quay được kiểm.
D.3.3 Trình bày kết quả
Tất cả dữ liệu đo được liên quan đến quỹ đạo thực, bao gồm các cực trị tại điểm bắt đầu và kết thúc, cũng như các điểm đảo chiều, được sử dụng để đánh giá.
Ưu tiên trình bày chuyển vị đo được dưới dạng biểu đồ cực tương tự như các phép kiểm độ tròn trong TCVN 7011-4:2013 (ISO 230-4:2005). Nếu điều này không khả thi, biểu đồ X-Y với vị trí góc danh nghĩa của trục quay được kiểm sẽ được chấp nhận (xem ví dụ Hình D.6). Đối với việc trình bày kết quả của chuyển động năm trục, vị trí góc danh nghĩa của trục C được lấy làm tham chiếu cho vị trí góc của các sai lệch.
Các phép kiểm chỉ yêu cầu báo cáo độ chênh lệch giữa các giá trị ghi được lớn nhất và nhỏ nhất.

CHÚ DẪN:
1 theo chiều kim đồng hồ.
2 ngược chiều kim đồng hồ.
X vị trí góc trục C tính bằng milimét.
Y độ dịch chuyển tính bằng milimét.
Hình D.6 – Ví dụ về cách trình bày dữ liệu cho phép kiểm BK2
Thư mục tài liệu tham khảo
[1] ISO 230 (all parts), Test code for machine tools (Quy tắc kiểm máy công cụ)
[2] TSUTSUMI M., & SAITO A. Identification and compensation of particular deviations of 5-axis machining centres. Int. J. Mach. Tools Manuf, 2003, 43 pp. 771-780
[3] TSUTSUMI M., & SAITO A. Identification of angular and positional deviations inherent to 5-axis machining centres with a tilting-rotary table by simultaneous four-axis control movements. Int. J. Mach. Tools Manuf. 2004, 44 pp. 1333-1342
[4] DASSANAYAKE K.M.M., YAMAMOTO K., TSUTSUMI M. A methodology for identifying inherent deviations in universal spindle head type multi-axis machines by simultaneous five-axis control motions, Proceedings of International Mechanical Engineering Congress and Exposition, IMECE2006-13440, pp.1-10, 2006
[5] TSUTSUMI M., YUMIZA D., UTSUMI K., SATO R. Evaluation of synchronous motion in five-axis machining centres with a tilting rotary table. J. Adv. Mech. Des. Syst. Manuf. 2007, 1 pp. 24-35
[6] DASSANAYAKE K.M.M., TSUTSUMI M., SAITO A. A strategy for identifying static deviations in universal spindle head type multi-axis machining centres. Int. J. Mach. Tools Manuf. 2006, 46 pp. 1097-1106
[7] WEIKERT S., & KNAPP W. R-test: A new device for accuracy measurements on five axis machine tools. Annals of CIRP. 2004, 53 pp. 429-432
[8] BRINGMANN B., BESUCHET J.P., ROHR L. Systematic evaluation of calibration methods. CIRP Annals-Manufacturing Technology, Vol. 57, 2008, pp. 529-32
[9] MATANO M., & IHARA Y. Ball bar measurement of five-axis conical movement, Laze Metrology and Machine Performance VIII. Bedford, 2007, pp. 34-43
[10] BRINGMANN B., & KNAPP W. Model-based Chase-the-Ball Calibration of a 5-Axes Machining Center. Annals of the CIRP. 2006, 55 pp. 531-534
[11] BRINGMANN B. Improving geometric calibration methods for multi-axes machining centers by examining error interdependencies effects, Fortschritts-Berichte VDI, Reihe 2, Fertigungstechnik, Nr. 664, Zurcher Schriften zur Produktionstechnik, Diss. ETH No. 17266, VDI-Verlag GmbH, Düsseldorf, 2007
[12] FLORUSSEN G.H.J., & SPAAN H.A.M. Static R-test: allocating the centerline of rotary axes of machine tools, Laze metrology and machine performance VIII. Bedford, 2007, pp. 196-202
MỤC LỤC
Lời nói đầu
Lời giới thiệu
1 Phạm vi áp dụng
2 Tài liệu viện dẫn
3 Thuật ngữ và định nghĩa
4 Lưu ý ban đầu
5 Kiểm động học
Phụ lục A (quy định) Kiểm động học cho máy có hai trục quay trong ụ trục chính
Phụ lục B (quy định) Kiểm động học cho máy có hai trục quay phía phôi
Phụ lục C (quy định) Kiểm động học cho máy có ụ xoay và/hoặc bàn máy quay
Phụ lục D (tham khảo) Lưu ý khi thiết lập kiểm cho các Phụ lục A đến Phụ lục C
Thư mục tài liệu tham khảo
1) Hiện có TCVN 7011-1:2007 (ISO 230-1:1996), Qui tắc kiểm máy công cụ – Phần 1: Độ chính xác hình học của máy khi vận hành trong điều kiện không tải hoặc gia công tinh.
| TIÊU CHUẨN QUỐC GIA TCVN 10170-6:2025 (ISO 10791-6:2014) VỀ ĐIỀU KIỆN KIỂM TRUNG TÂM GIA CÔNG – PHẦN 6: ĐỘ CHÍNH XÁC CỦA TỐC ĐỘ VÀ PHÉP NỘI SUY | |||
| Số, ký hiệu văn bản | TCVN10170-6:2025 | Ngày hiệu lực | |
| Loại văn bản | Tiêu chuẩn Việt Nam | Ngày đăng công báo | |
| Lĩnh vực |
Công nghiệp nặng |
Ngày ban hành | |
| Cơ quan ban hành | Tình trạng | Còn hiệu lực | |
Các văn bản liên kết
| Văn bản được hướng dẫn | Văn bản hướng dẫn | ||
| Văn bản được hợp nhất | Văn bản hợp nhất | ||
| Văn bản bị sửa đổi, bổ sung | Văn bản sửa đổi, bổ sung | ||
| Văn bản bị đính chính | Văn bản đính chính | ||
| Văn bản bị thay thế | Văn bản thay thế | ||
| Văn bản được dẫn chiếu | Văn bản căn cứ |




















